液压缸内部图

液压系统设计:液压缸计算公式与应用指南
图片尺寸938x544
液压缸的结构和材料课件
图片尺寸1500x1125
液压油缸内部结构:3d动画演示
图片尺寸1080x1920
自卸车液压油缸
图片尺寸1080x1080
技术解析:液压油缸的多样分类与工作原理,动图演示
图片尺寸658x410
气缸内部结构,常用的参数表
图片尺寸1080x838
全面了解液压缸:种类,结构与工作原理
图片尺寸1178x652
液压缸常见故障诊断与预防措施探讨
图片尺寸883x690
液压缸图片零件图
图片尺寸2338x1653
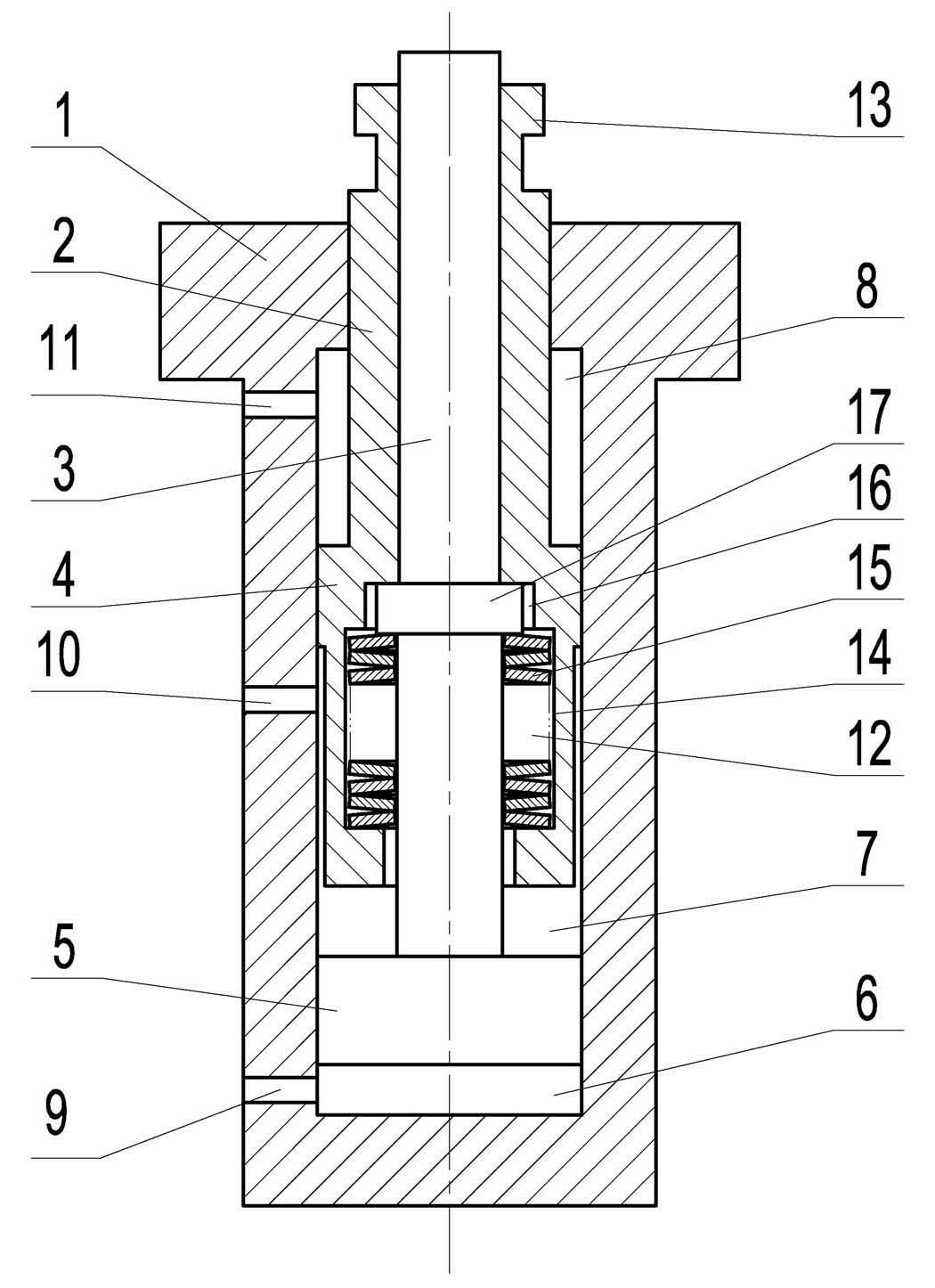
一种油缸总成和设有该油缸总成的液压成型设备
图片尺寸1050x1446
全面解析液压油缸:原理,设计,计算一网打尽!
图片尺寸554x389
液压油缸结构图
图片尺寸500x562
双向液压油缸结构图
图片尺寸1000x706
液压缸的工作原理,内部设计及应用解析
图片尺寸600x440
挖掘机液压油缸内部结构,3d动画直观演示
图片尺寸1427x891
学会上海液压机液压缸维修时拆缸方法与注意事项
图片尺寸445x483
液压缸的典型结构有哪些举例说明
图片尺寸931x560
7种液压缸工作原理和内部结构
图片尺寸583x324
详解双作用液压缸的工作原理及结构
图片尺寸640x923
液压缸结构图样例
图片尺寸1083x671