液压缸内部

i前沿q51液压缸还能数字变排量看这款norrdigi智能缸的七十二变
图片尺寸1000x416
工程油缸系列 - 液压及气动元件图纸 - 沐风网
图片尺寸654x472
液压油缸结构分析解析.ppt
图片尺寸800x600
液压油缸如何保养
图片尺寸653x357
看看油缸内部是个啥样的
图片尺寸800x600
油缸200-100-380 - 液压及气动元件图纸 - 沐风网
图片尺寸820x381
液压缸结构油缸设计资料_第1页
图片尺寸920x650
液压缸的典型结构有哪些
图片尺寸1099x447
第五章 液压缸ppt
图片尺寸1080x810
液压缸设计模型含内部结构
图片尺寸530x350
单活塞杆式液压缸结构图
图片尺寸500x250
通过油缸活塞上的多个油封隔离油缸杆腔和无杆腔的液压油,在长期的
图片尺寸595x669
cn86101725a_中心输油的双级双作用液压油缸失效
图片尺寸1312x1888
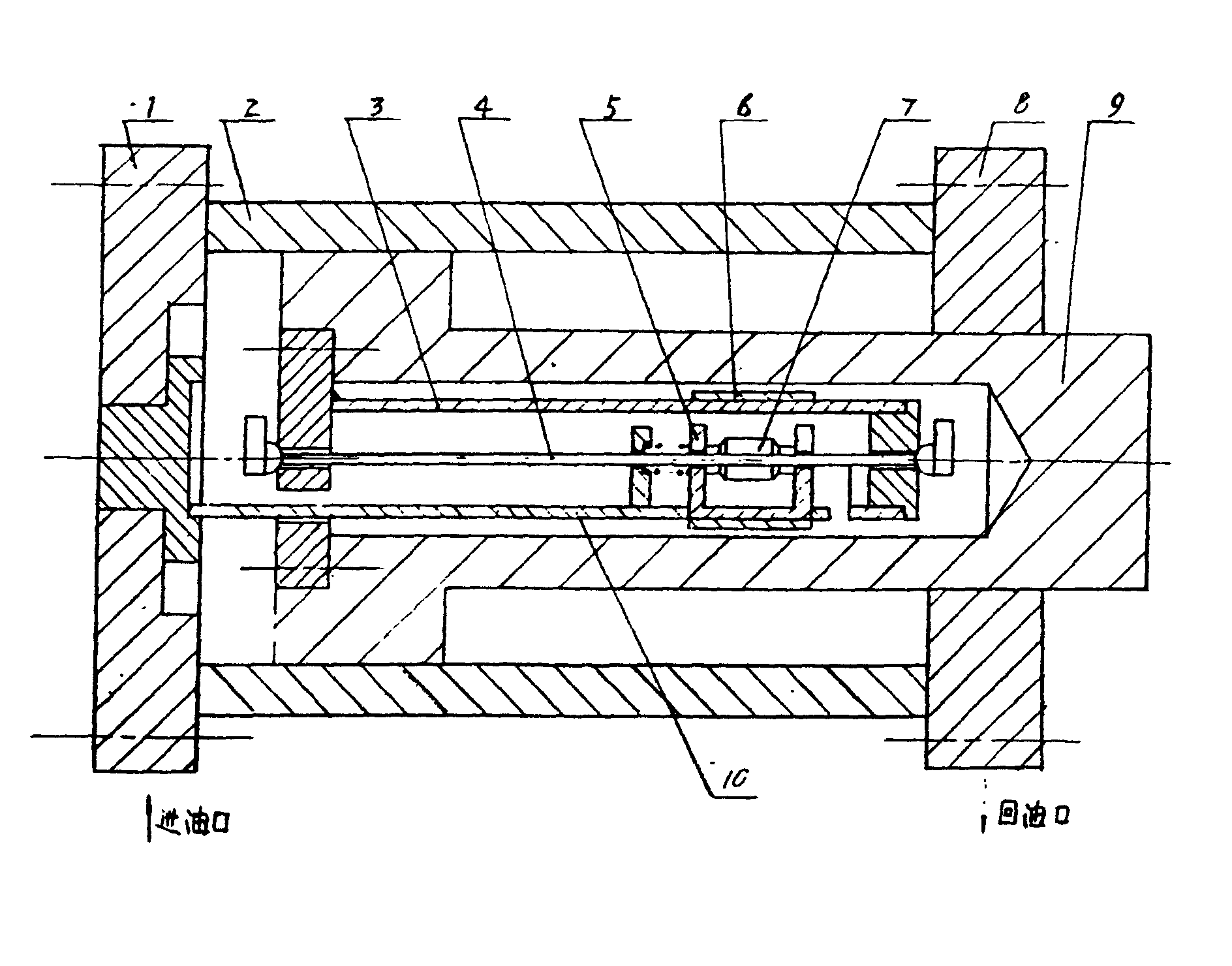
内装磁栅位移传感器的液压缸
图片尺寸1888x1480
看图说话----液压缸装配图
图片尺寸1115x557
再加上液压油缸也是有一定的使用寿命的,并且油缸内部的密封件也属于
图片尺寸1080x810
32液压缸的结构-(精品·课件).ppt
图片尺寸1152x864
液压缸结构图样例(不完整)
图片尺寸1083x671
液压缸的作用,分类,原理及使用方法,图文并茂
图片尺寸640x480
液压缸速度变慢怎么办?30年工程师教你排查故障问题
图片尺寸640x238