液压设备简图

液压系统
图片尺寸1880x1848
外圆磨床液压系统
图片尺寸3402x2598
液压机液压系统的主要工作方式
图片尺寸680x1013
装载机液压系统
图片尺寸2595x1863
液压系统 (机械)
图片尺寸1085x874
升降平台液压原理图-升降机|液压升降机|固定式升降
图片尺寸581x568
cn2476409y_全自动双压式液压机失效
图片尺寸836x945
cn100594078c_一种板材充液成形液压机有效
图片尺寸1770x2559
锻液压机液压系统的设计2d图机械cad 说明素材
图片尺寸1137x790
典型液压系统分析
图片尺寸992x1235
液压系统的图形符号
图片尺寸1215x1346
小型液压压力机液压系统设计
图片尺寸893x577
小型液压机液压系统原理图
图片尺寸925x619
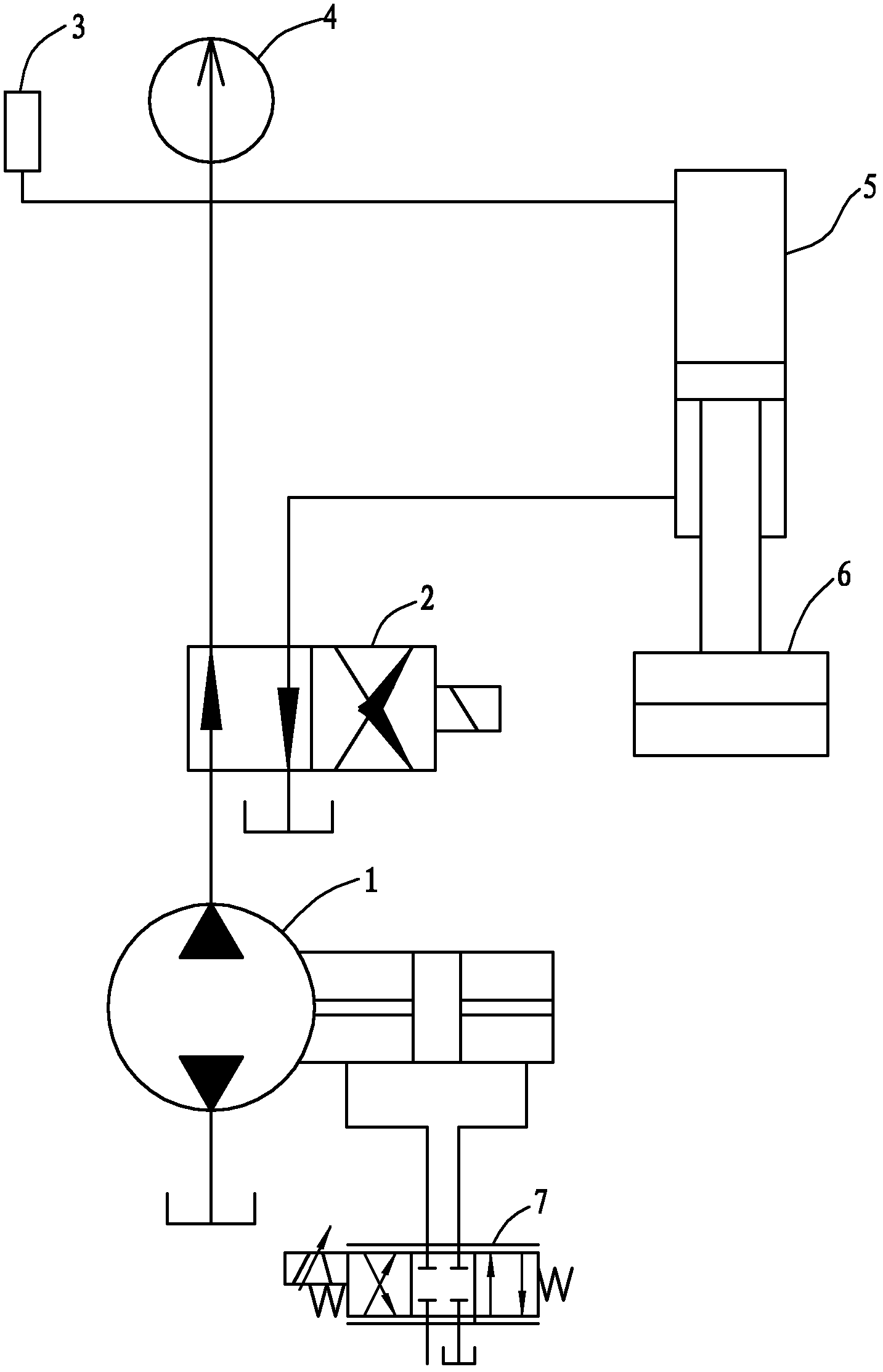
谁能帮我看下液压开式系统示意图,图中标注的数字分别代表什么?
图片尺寸422x650
方天ft10520t四柱两梁液压机四柱双梁油压机
图片尺寸1000x602
图53 起重机卷扬液压系统原理
图片尺寸500x456
复合材料液压机系统
图片尺寸1433x2227
工业机械手设计-液压驱动设计
图片尺寸1200x800
浮动式自动液压机
图片尺寸632x1371
挤压成型液压机xdk
图片尺寸363x523