液压轴承原理图

a1液压系统原理1.dwg
图片尺寸1200x800
一种汽车上用液压分离轴承
图片尺寸2303x2069
油膜轴承 - 工作原理
图片尺寸535x246
轮对轮轴承压装机液压系统原理.dwg
图片尺寸1200x800
液体静压轴承
图片尺寸336x336
散热风扇之液压轴承详解
图片尺寸500x317
第九讲_课堂作业_液压基本回路_1《液压与气压传动》课堂作业参考答案
图片尺寸1032x653
一种水润滑错位推力轴承
图片尺寸2563x1512
深浅腔体液动静压轴承的多目标优化设计研究,机械工程论文_学术堂
图片尺寸653x602
cn202266367u_一种支撑轴承与前盖连接的液压马达失效
图片尺寸1636x1444
百度爱采购首页 商品专题_液下泵 优质回答 滑动轴承 根据行业综合
图片尺寸1192x1062
液体静压轴承的类型
图片尺寸1080x810
会引起转子发生轴向窜动,产生磨损和振动,因此应设置轴向推力轴承
图片尺寸800x946
cn1900545a_具有紧凑的液力机构的油膜轴承有效
图片尺寸2257x1782
液压驱动法的原理
图片尺寸1080x810
轴向柱塞式液压马达的工作原理以及结构特点
图片尺寸883x403
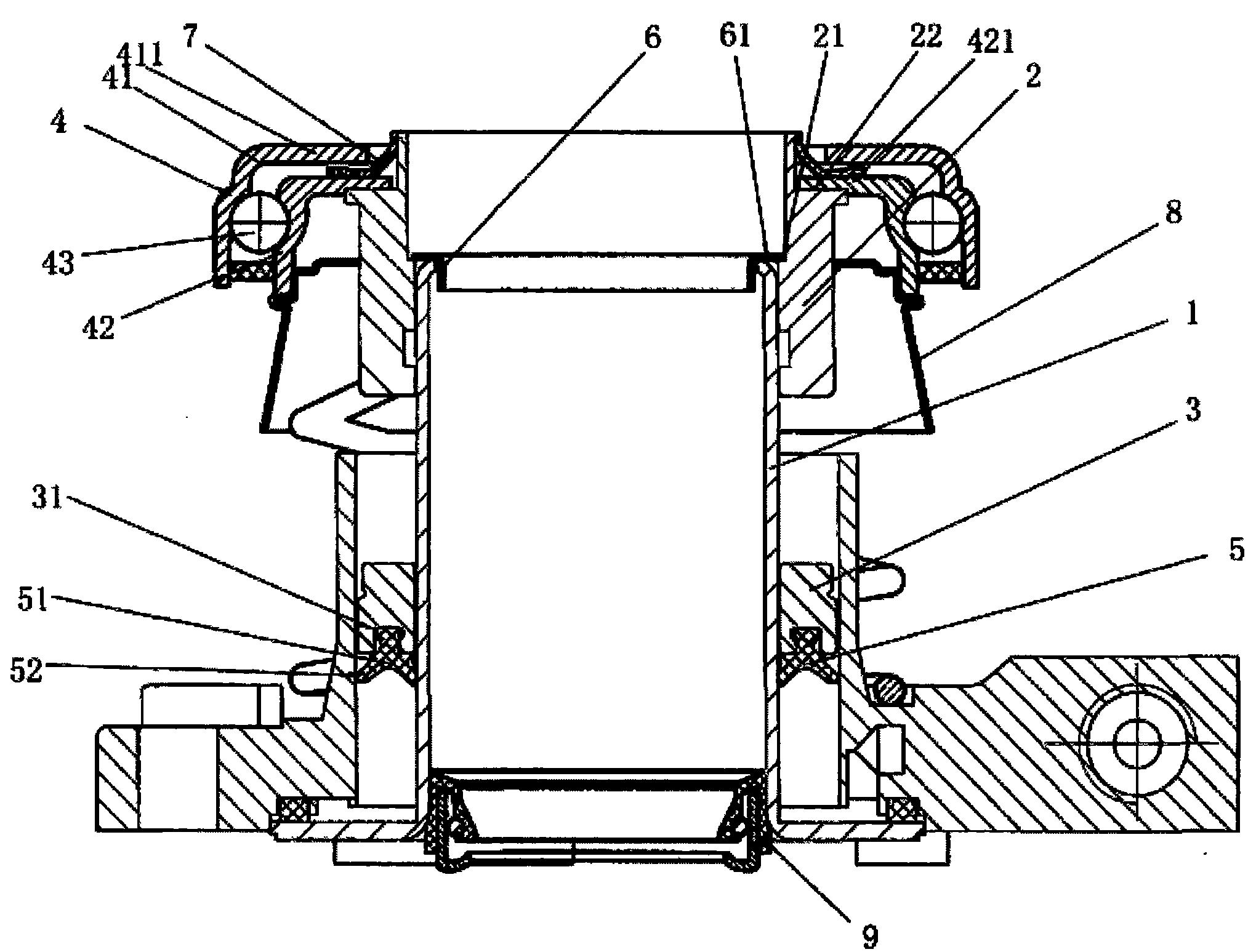
一种液压分离轴承总成的制作方法
图片尺寸1000x879
自平衡水泵轴承体结构图
图片尺寸840x407
活塞可分体的液压分离轴承-爱企查
图片尺寸2027x1547
流体压力执行机构一般液压技术和气动零部件的制造及其应用技术
图片尺寸1000x580