液压锁紧装置

液压机 液压机安全装置,液压锁紧,帮兄弟做10套,20天后
图片尺寸2160x2880
议价QUIRI未拆封原包装液压锁紧装置议价
图片尺寸1440x1440
摇臂钻床摇臂液压锁紧装置
图片尺寸1664x1869
德国sitema液压锁紧装置 适用于轻到重负载
图片尺寸500x500
迷你液压装置
图片尺寸1181x1181
液压夹紧装置
图片尺寸1080x1920
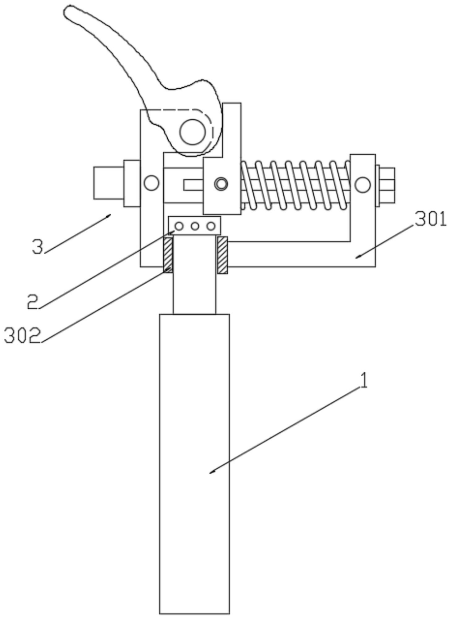
一种液压杆锁紧装置
图片尺寸1458x1997
金帅厂家制造 钢铁行业 全自动液压拉紧装置 张紧力可调节 应用广泛
图片尺寸750x1138
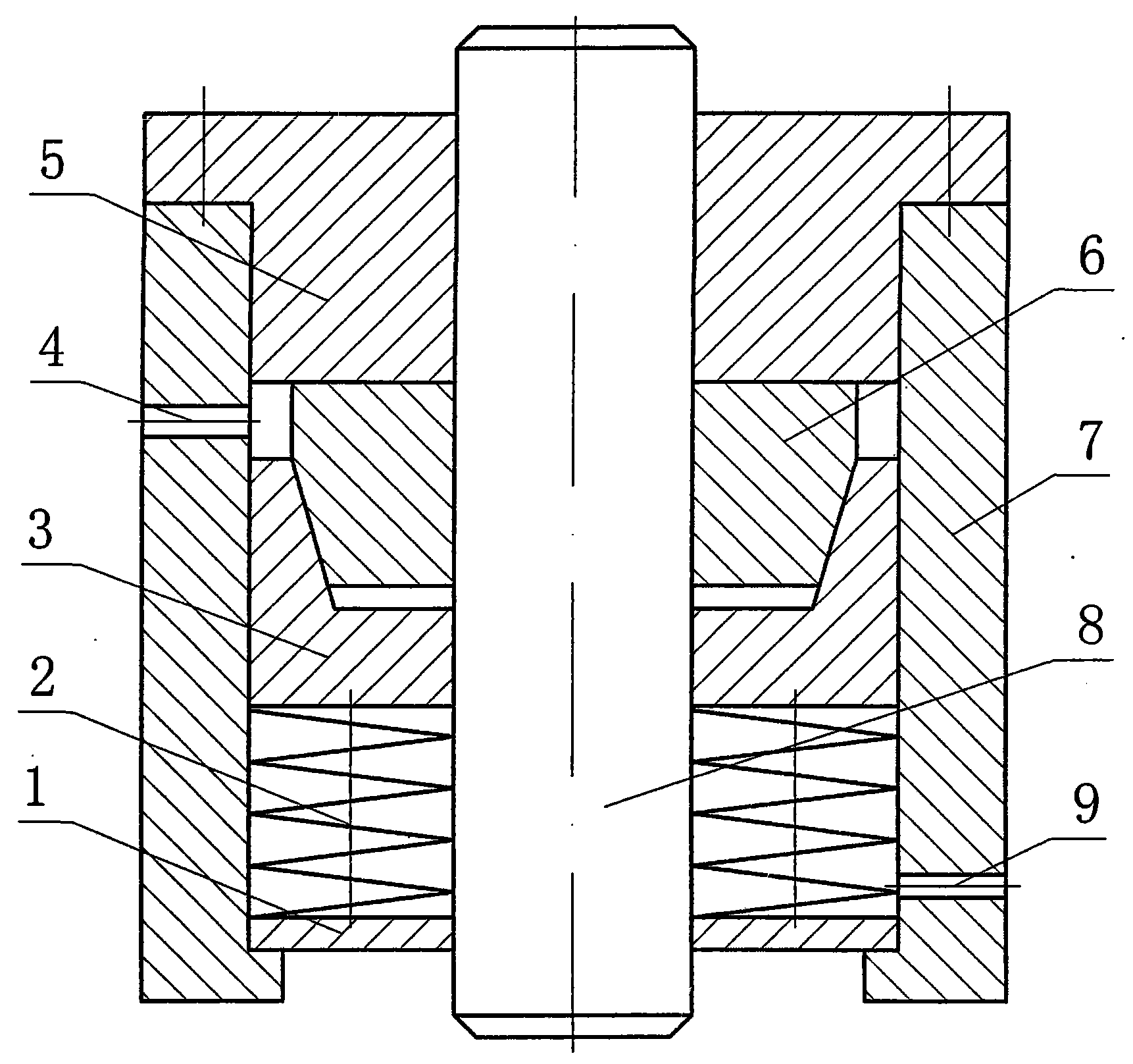
摘要本实用新型涉及机床领域,具体为一种具有自锁功能的液压锁紧装置
图片尺寸1168x768
一种液压油缸锁紧装置
图片尺寸1722x1616
立式车床的液压锁紧装置
图片尺寸2524x1636
石家庄全自控液压拉紧装置加工详情
图片尺寸1242x1655
液压紧链器,一种利用液压马达驱动的刮板链张紧装置,其核心组件为紧链
图片尺寸1080x1050
适用福田欧曼etx液压锁驾驶室锁紧装置龙门架锁1b24950200169推荐
图片尺寸854x854
板换夹紧器液压扳手夹紧器板式换热器锁紧装置电动液压板换夹紧器
图片尺寸800x800
螺母锁紧装置拉伸器工具预紧拆卸螺栓拉力480千牛液压螺栓拉伸器
图片尺寸1280x1280
一种液压机滑块锁紧装置及该液压机
图片尺寸1794x1195
液压钻攻夹具排刀板安装锁紧装置640型液压气动两用加工中心夹具 640
图片尺寸2000x2000
厂家供应轧机锁紧缸 碟簧锁紧油缸 液压锁紧装置
图片尺寸800x800
手动液压紧链器 yjlq
图片尺寸750x750