液压集成块cad

包围盒
图片尺寸444x442
液压锁
图片尺寸216x303
d(diode)二极管,dw稳压二极管,led指示灯或数码管,jk继电器,ic集成或
图片尺寸786x456
集成块
图片尺寸3280x2460
定制定做液压集成块分油器液压油路块6通径电磁阀阀座021w021w
图片尺寸990x876
p>lm1875 是是美国国半公司研发的一款功率放大集成块, 它在使用中只
图片尺寸400x400
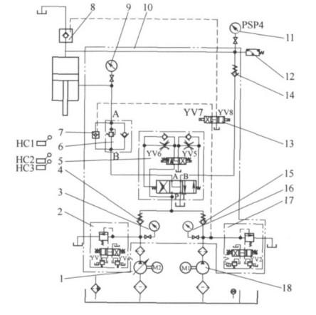
泵从油箱中吸油供油,将机械能转化为液压站的压力能,液压油通过集成块
图片尺寸500x375
本机液压系统采用液压集成块油路集成形式控制,以实现工艺要求的循环
图片尺寸650x487
国道,毗邻京珠高速公路,新乡市鼎兴机械有限公司是生产大型液压设备
图片尺寸500x338
展会预告2024年第28届俄罗斯圣彼得堡国际工业展览会暨论坛
图片尺寸667x500
的清扫系统由扫盘支架,扫盘,油缸,油管,连杆,调节杆,液压马达等组成
图片尺寸785x470