液氩储罐原理图

液氩储罐华祥hxcg-20液体二氧化碳储罐优惠供应
图片尺寸1122x793
氩,二氧化碳等介质的立式或卧式双层真空绝热储槽被我们称为液氩储罐
图片尺寸750x1062
lng低温储罐的减压增压原理图
图片尺寸458x256
中杰特装20立方液氧罐 液氮罐 液氩罐 工业气体储罐罐
图片尺寸710x553
lng低温储罐结构图及其减压增压原理图
图片尺寸1338x831
一种带油水分离功能的储气罐
图片尺寸906x1045
标准大宗液体存储系统
图片尺寸440x351
为一种用于气体的净化处理提高纯度的装置,由低温储罐和一号管等组成
图片尺寸1000x546
液氮储罐安全操作规程
图片尺寸572x490
天然气储罐,液体低温储罐,lpg储罐,液化石油气储罐,液氧储罐,液氩储罐
图片尺寸1008x872
一种方便清洗的储液罐制造技术,液氮储罐专利_技高网
图片尺寸700x1000
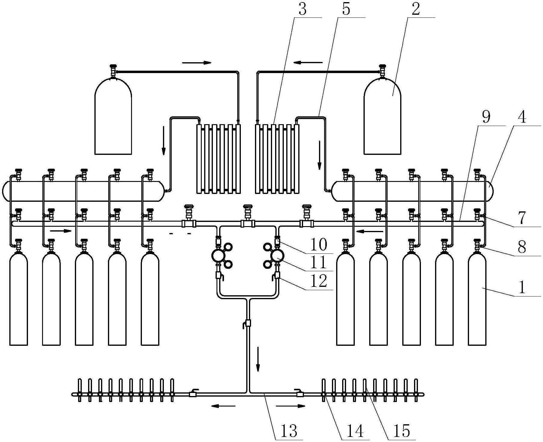
摘要附图摘要多工位焊接集中供氩气装置,包括氩气瓶,液氩罐,液氩罐,空
图片尺寸1806x1470
常压立式储罐设计表
图片尺寸515x427
液氮低温处理槽液氮低温处理系统
图片尺寸686x486
泰来华顿xl-45杜瓦罐使用说明
图片尺寸491x478
2m3/h的常温气体(氧,氮,氩),因此同型号有自增压液氮罐,自增压液氩罐
图片尺寸570x623
求低温常压罐流程图
图片尺寸322x244
利用液氮冷量降低液氢储罐蒸发率的装置及方法与流程
图片尺寸1000x832
一种带有排气冷能利用的低温液氢储罐的制作方法
图片尺寸897x1000
储罐工作原理,pid及操作设计.适用介质为液氮,液氧,液氩等低温气体.
图片尺寸1200x848