淋浴喷头结构

花洒头拆卸图解法
图片尺寸720x960
搜遍全网,也找不到的清垢花洒头拆解图文教程
图片尺寸761x829
一种结构简单的切换出水喷头
图片尺寸1975x1976
埃美柯amico 全铜淋浴花洒套装卫浴家用淋雨喷头喷枪浴室洗澡神器
图片尺寸750x1191
消防喷头全解析 想要了解消防喷头的分类与结构吗?这里为你详细解析!
图片尺寸800x592
识别洒水喷头,按安装方式,结构形式,热敏元件,响应时间,动作
图片尺寸1080x1444
结构原理及应用,与下垂型,隐蔽型喷头的区别
图片尺寸1080x1708
一种可用于地埋的喷头装置
图片尺寸1096x2024
结构原理及应用,与下垂型,隐蔽型喷头的区别
图片尺寸1080x899
一种顶喷花洒
图片尺寸1824x2533
蒙娜丽莎 淋浴花洒套装 淋雨喷头浴室冷热沐浴器
图片尺寸1080x1080
如果你对淋浴需求高,一定要认真挑选,选不对真的会影响体验感!
图片尺寸1080x1410
嘉霖浦厨卫美式黑色4寸暗装节水小顶喷淋浴花洒头
图片尺寸1001x1001
一种溅水面积可调的消防喷淋头的制作方法
图片尺寸1239x1754
嘉霖浦厨卫6寸方形浴室淋浴顶喷花洒头
图片尺寸1080x1080
消防喷淋头的安装结构的制作方法
图片尺寸1239x1754
德国浪斯智能数显恒温花洒套装家用增压沐浴喷头全铜龙头淋浴卫浴
图片尺寸750x1322
智能恒温淋浴花洒套装可升降增压恒温花洒喷头套装沐浴
图片尺寸790x1334
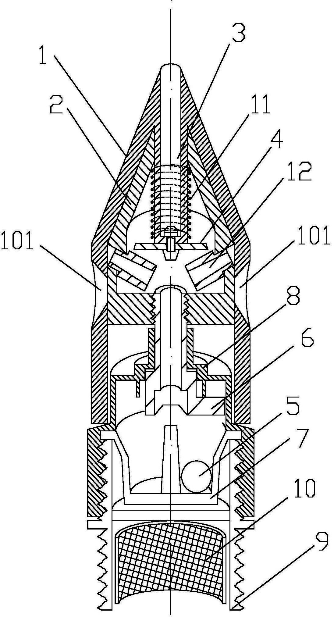
一种淋浴器的制作方法
图片尺寸1000x913
背景技术:传统的淋浴喷头结构设计比较简单,喷头前部与喷头后部往往
图片尺寸1000x990