混合器cad图

管道混合器
图片尺寸1072x902
定制适用frp玻璃钢管道混合器管道式静态混合器dn800dn80
图片尺寸750x385
管道混合器
图片尺寸338x665
定制304不锈钢管道混合器 316l管道式静态混合器 碳钢混合加药器 dn50
图片尺寸740x736
明胶锥形混合器
图片尺寸600x769
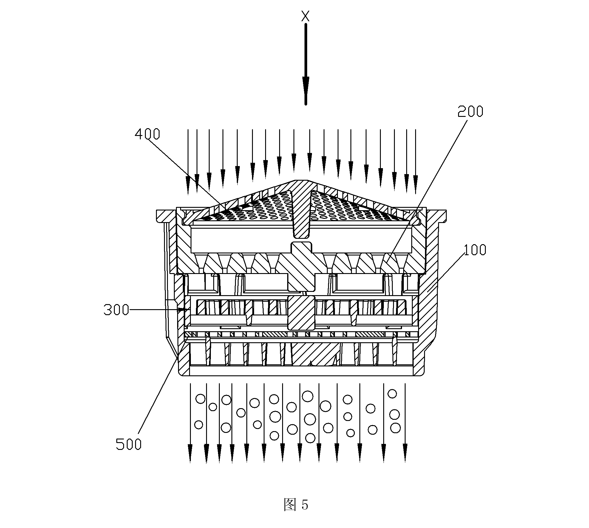
入口混合元件和相关的静态混合器以及混合的方法
图片尺寸2438x1415
sk型静态混合器
图片尺寸300x161
气水混合起泡器
图片尺寸1975x1771
教你认识各种泡沫比例混合器
图片尺寸640x315
气水混合起泡器
图片尺寸1847x1232
右图为连续稀释法的混合器图示.
图片尺寸250x120
汽水混合喷射器
图片尺寸302x228
煤粉混合器
图片尺寸220x154
泡沫消防车自动泡沫比例混合器结构介简介
图片尺寸1308x860
混合器
图片尺寸1261x1048
不锈钢 推流式 高速 美国劳斯routh_技术_混合器_结构
图片尺寸554x351
管道管件阀门图例全
图片尺寸462x821
加药管道混合器 dn15/20/25/32/40/50/65upvc静态混合器 液体水 dn150
图片尺寸800x417
管道式汽水混合器蒸汽式加热器 不锈钢混合加热器汽水混合加热器 dn
图片尺寸800x800
p>水热器,替代和淘汰 a target="_blank" href="/item/汽水混合器
图片尺寸531x213