清洗机结构

一种食品原料清洗机的制作方法
图片尺寸1917x1633
博拓220v商用电动高压清洗机 工业全自动清洗设备 双重过滤
图片尺寸750x1189
先林无刷变频高温高压蒸汽清洗机内外结构展示,机器拆开看,我卖你放心
图片尺寸1200x2133
果蔬清洗机总体结构设计含sw三维及7张cad图
图片尺寸1076x568
一种新型干冰微粒清洗机
图片尺寸1775x1920
一种水流冲刷式清洗机的制作方法
图片尺寸2443x1888
整机特点 function: cn
图片尺寸1944x1280
一种安瓿瓶外壁清洗机的制作方法
图片尺寸1942x1286
包括基座,安装架,清洗机构,喷淋机构,滑动机构和风干机构;所述基座上
图片尺寸1762x1475
干冰清洗机的制作方法
图片尺寸1000x903
双齿轮螺旋洗矿机 一米双轴槽式洗石机 砂石粘料清洗设备 洗沙机
图片尺寸750x1239
一种气泡清洗机
图片尺寸1830x1415
一种蔬菜自动清洗机
图片尺寸1678x1137
一种玻璃打磨抛光清洗机有效
图片尺寸1716x1352
一种具有排污结构的气泡清洗机的制作方法
图片尺寸773x1000
一种可自动进水的超声波清洗机
图片尺寸1952x2538
一种气泡清洗机
图片尺寸1000x435
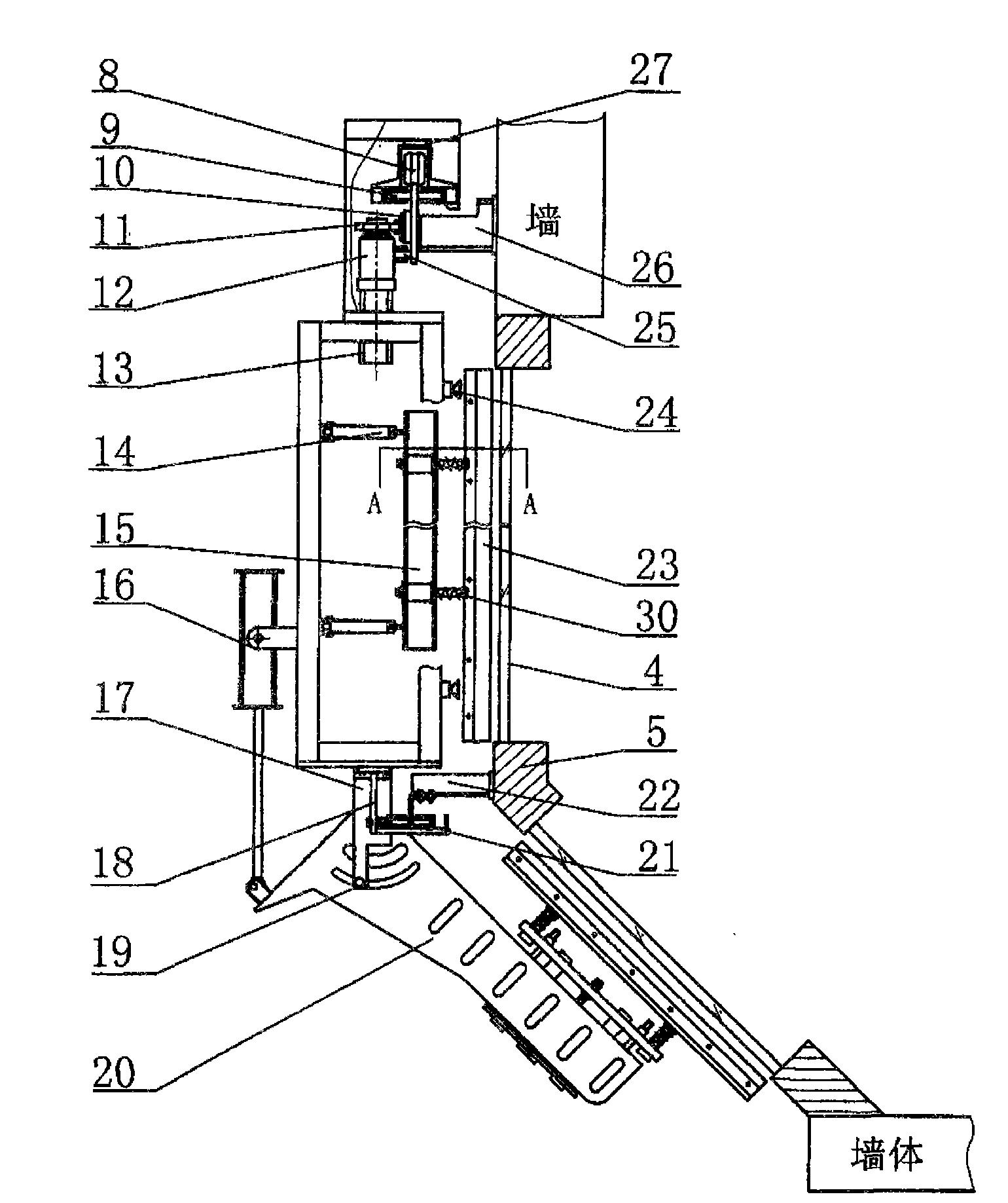
一种带有转动机构的玻璃窗清洗机构
图片尺寸1540x1837
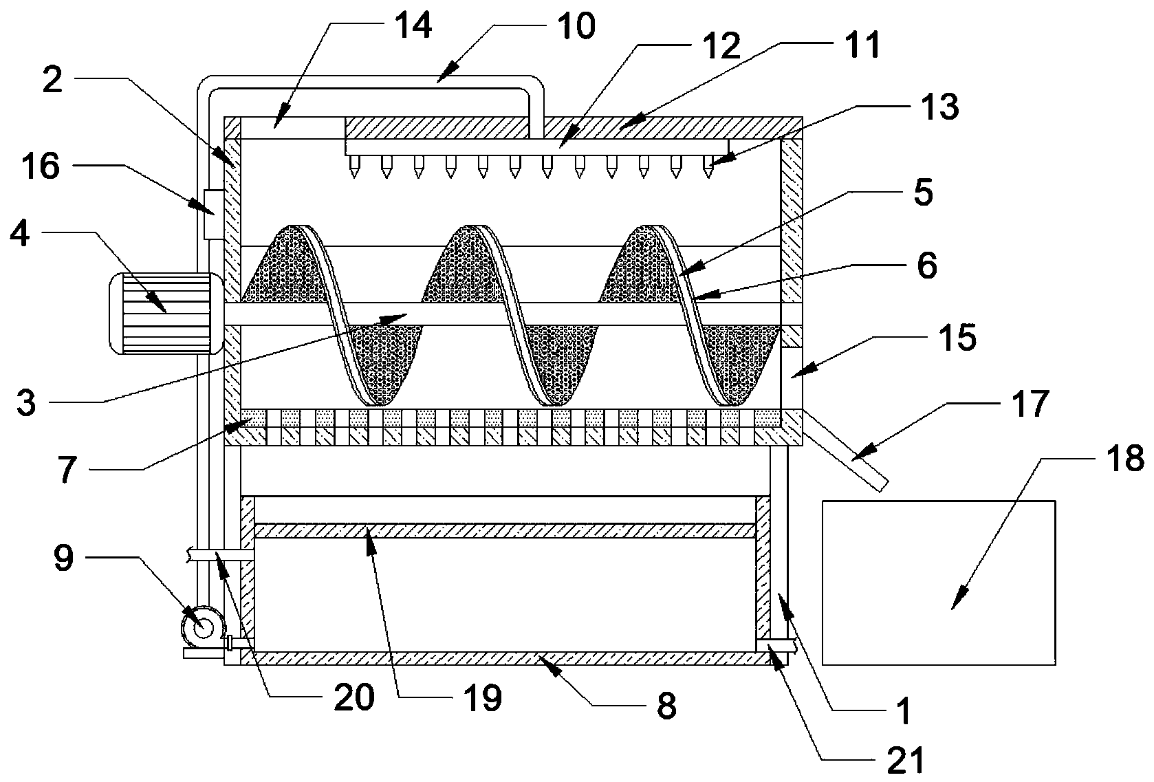
一种罐头生产用清洗机
图片尺寸1906x2748
一种用于果蔬的气泡清洗机
图片尺寸1923x1972