渗管平面图

流程为调节池 反硝化罐 一级硝化罐 二级硝化罐 管式超滤 纳滤 反渗透
图片尺寸754x557
一种塑料纤维渗灌管的制作方法
图片尺寸252x444
渗排水管示意图
图片尺寸406x574
一种插接式渗排水管的制作方法
图片尺寸574x390
一种尾矿坝排渗系统
图片尺寸1675x612
渗管 渗渠 渗井节点大样图(海绵城市节点)
图片尺寸818x488
垃圾渗沥液处理厂脱水机房设备管道平面布置图
图片尺寸420x296
渗排水盲管厂家 渗排水管 诺联
图片尺寸709x345
一种槽孔排渗管在尾矿库中的施工及应用——科意德
图片尺寸1150x953
渗滤液设计图
图片尺寸458x366
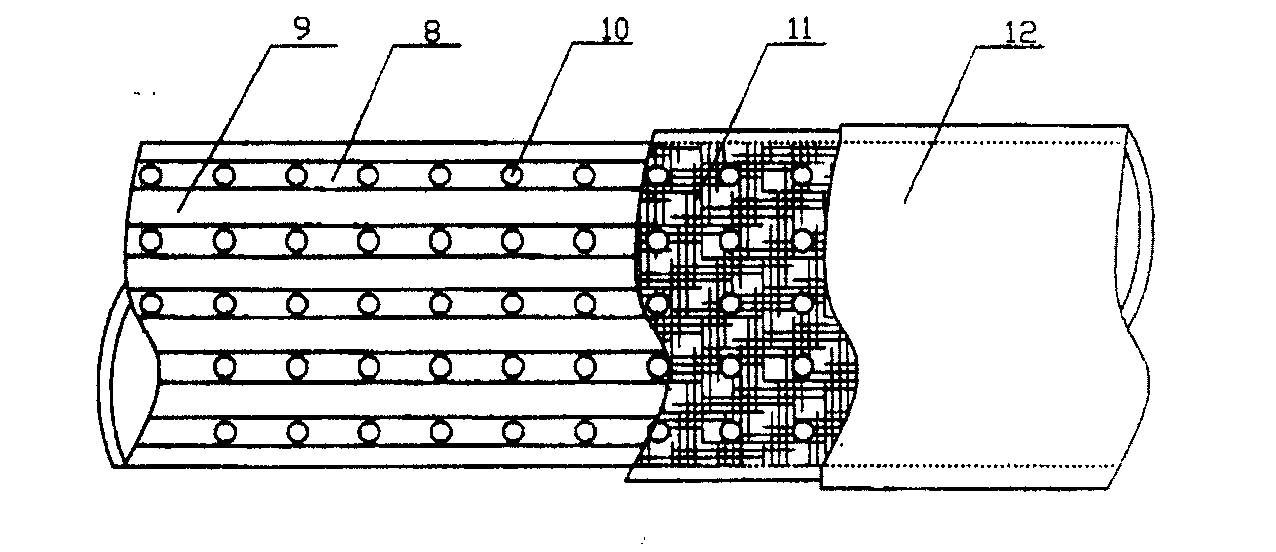
一种尾矿坝的排渗方法及为实施该方法而使用的排渗管
图片尺寸1276x552
垃圾渗沥液处理厂脱水机房设备,管道平面布置图
图片尺寸463x324
一种用于海绵城市建设的渗排管的制作方法
图片尺寸1000x732
cn111851688a_一种渗滤液导排系统在审
图片尺寸2861x1540
雨水渗井的增加 基于leed铂金江示范街区的要求, 街区内的雨水必须
图片尺寸1080x810
求教,r1r2一个是热水供水管一个是热水回水管,比如说他们都有dn32这根
图片尺寸1162x656
一种加强型渗排水收集管的制作方法
图片尺寸600x416
屋顶雨水管布置规范
图片尺寸956x633
海绵城市渗管渗渠渗井cad详图
图片尺寸818x488
雨水生态技术-渗管,渗渠,渗井节点大样图
图片尺寸610x467