渡槽设计图

一种渡槽槽身后浇带施工工艺
图片尺寸1000x828
矩形渡槽施工图纸
图片尺寸462x343
小型农田水利工程渡槽典型设计图
图片尺寸560x420
某引水渡槽设计图
图片尺寸698x500
渡槽典型设计图
图片尺寸633x424
拱式渡槽
图片尺寸1877x622
江苏高邮农业综合开发卸甲,三垛镇高标准农田建设项目3*4m渡槽总体
图片尺寸1440x1020
分享钢筋混凝土渡槽设计图纸资料下载
图片尺寸760x539
某工程矩形渡槽设计施工图含配筋样式图
图片尺寸610x432
渡槽设计图
图片尺寸312x221
钢管式渡槽典型设计图纸
图片尺寸1173x818
梁式渡槽受力,传力明确,设计,施工均较方便,运用情况良好,是渡槽建设
图片尺寸1821x830
顺水型波纹钢渡槽
图片尺寸1587x978
某渡槽定型设计图纸
图片尺寸960x720
某工程钢渡槽施工图,房屋设计,新筑网
图片尺寸480x360
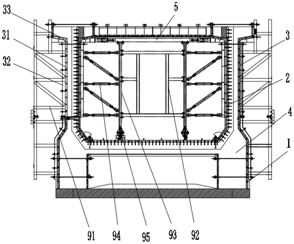
一种矩形渡槽槽身大型钢模板与竹胶木模板组合模架的制作方法
图片尺寸1000x625
u形渡槽设计图
图片尺寸1011x731
水库灌区引水干渠控制灌区的渡槽设计【含cad图纸】
图片尺寸1200x800
某渡槽设计
图片尺寸620x433
小型渡槽标准图纸
图片尺寸560x403