温度计构造

一,温度计的原理和构造 1,构造: 玻璃管 玻璃外壳 刻度 液柱 玻璃泡
图片尺寸1080x810
三年级科学下册温度和温度计 优秀课 件ppt
图片尺寸1080x810
揭秘五种常见温度计工作原理_液体_测量_热电偶
图片尺寸326x363
温度计ppt
图片尺寸800x600
数字温度计的最新报道
图片尺寸477x460
体温计的各部分名称示意图
图片尺寸1600x1066
孩子们全面掌握了温度计的结构和使用方法,给孩子们点赞!
图片尺寸720x1520
膨胀式温度计之一玻璃液体温度计
图片尺寸272x388
简单讲解下双金属温度计的整体构造
图片尺寸500x621
玻璃液体温度计的详细结构介绍
图片尺寸523x478
双金属温度计结构示意图
图片尺寸600x333
电接点双金属温度计
图片尺寸640x401
温度计的结构 符号 刻度 毛细管 玻璃外壳 液体 玻璃泡
图片尺寸1080x810
初中教育 其它课程 八年级上册3-1温度(上课用)ppt 实验用温度计的
图片尺寸1080x810
玻璃液体温度计的种类,原理与构造
图片尺寸310x543
三年级上《认识气温计》|科学鱼网课|温度计|读数|刻度|量程_网易订阅
图片尺寸660x370
一种高安全性万向型双金属温度计的制作方法
图片尺寸399x413
初二物理上册温度和温度计ppt
图片尺寸1080x810
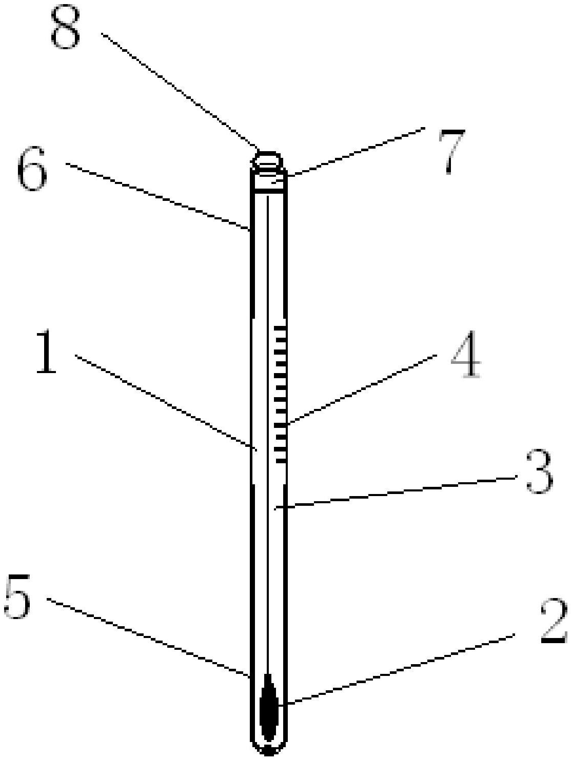
一种医疗用防摔型测量人体温度的水银温度计
图片尺寸1115x1485
今天我们家用的水银温度计,就是从300年
图片尺寸1080x541