游梁式抽油机简图

游梁式抽油机工作示意图
图片尺寸378x669
p>游梁式抽油机,也称梁式抽油机,游梁式曲柄平衡抽油机,指含有游梁
图片尺寸510x360
常规式游梁式抽油机结构简图
图片尺寸920x651
游梁式抽油机运动分析及动态静力分析
图片尺寸947x612
cn201531249u_无基础游梁平衡抽油机有效
图片尺寸2372x1652
游梁式抽油机平衡调节装置及游梁式抽油机制造方法及图纸
图片尺寸1000x765
游梁式抽油机运动学分析
图片尺寸550x411
游梁式抽油机
图片尺寸1853x1354
一种便于调节冲次的游梁抽油机的制作方法
图片尺寸444x384
游梁变矩平衡,偏轮增程式抽油机
图片尺寸800x598
cn112814626a_一种石油开采用游梁式抽油机有效
图片尺寸1938x1383
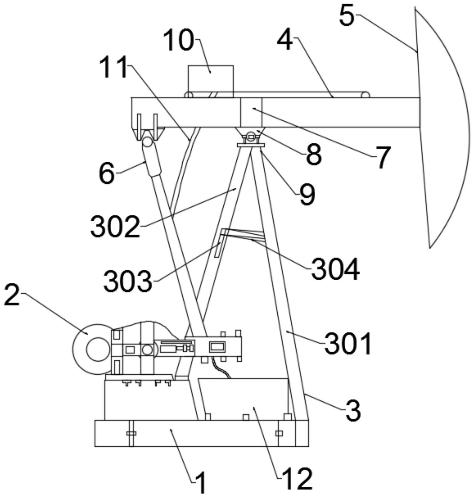
cn113027388a_一种大冲程游梁式抽油机在审
图片尺寸1598x1679
数控智能加工节能型游梁式抽油机
图片尺寸1833x2099
游梁变矩平衡,偏轮增程式抽油机
图片尺寸360x269
cn101307684a_吊摆式游梁平衡节能抽油机失效
图片尺寸1769x1428
cn2802079y_柔性传动游梁式抽油机失效
图片尺寸800x562
济南华联石油电热技术有限公司--厦门易商科技提供技术支持
图片尺寸397x399
cn102352739a_综合高效节能游梁抽油机有效
图片尺寸1802x1358
游梁式抽油机主视图
图片尺寸1077x904
一种齿圈式无游梁抽油机
图片尺寸1876x2148