游车大钩结构图

兰石游车大钩
图片尺寸755x1204
yg70-00游车大钩设计
图片尺寸813x575
其中,定位锁紧机构采用油缸顶伸结构顶住钩体,通过更
图片尺寸1476x1760
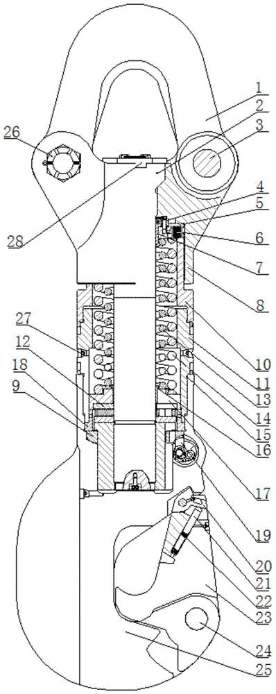
分体式全回转减震游车大钩的制作方法
图片尺寸1000x580
一种分体式全回转减震游车大钩的制作方法
图片尺寸1000x498
的游车大钩铸件,包括钩身,钩身正面的上部具有一体结构内部中空的筒体
图片尺寸1183x1030
游车大钩
图片尺寸820x579
天车,游车,大钩和钢丝绳ppt
图片尺寸1080x810
游车大钩和游车制造技术
图片尺寸508x1000
13号车钩组成【产品驻厂验收,通过铁路认证】
图片尺寸733x494
一种游车大钩双钩钩头-爱企查
图片尺寸800x682
全国铁路统一使用一种自动车钩一位南海先贤上书朝廷111年前(百舸争流
图片尺寸1071x911
cn110130843a_一种游车大钩在审
图片尺寸398x1000
cn208830910u_多角度定位游车大钩
图片尺寸605x401
游车大钩
图片尺寸820x575
一种焊接式游车大钩钩体的制作方法
图片尺寸355x444
个人制作货车17型车钩结构 2.
图片尺寸1080x810
一种用于游车大钩的稳定装置-爱企查
图片尺寸611x800
游车,大钩,水龙头ppt
图片尺寸1080x810
【铁道知识abc】-10车钩
图片尺寸578x700