溴化锂换热器

换热器蒸汽型双效溴化锂制冷机组同时为广大用户提供高效蒸汽型和直燃
图片尺寸2816x2112
关于溴化锂制冷机换热设备传热管数的计算
图片尺寸477x327
溴化锂空调 双良制冷机 lg高低温交换器 开利凝水器 高发 凝水换热器
图片尺寸350x350
溴化锂制冷机组余热回收三维图纸 气气板式换热器#制冷机组气气换热
图片尺寸3456x2160
简要了解溴化锂制冷吸收机组
图片尺寸578x433
溴化锂吸收式制冷机主要由发生器,冷凝器,蒸发器,吸收器,换热器,循环
图片尺寸605x375
溴化锂吸收式制冷机主要由发生器,冷凝器,蒸发器,吸收器,换热器
图片尺寸420x280
面议 溴化锂吸收式制冷机主要由发生器,冷凝器,蒸发器,吸收器,换热器
图片尺寸543x401
热回收型溴化锂机,南京中央空调回收
图片尺寸600x351
厦门溴化锂机组回收价格
图片尺寸750x563
上海回收空调制冷设备〔二手制冷机组回收〕双良溴化锂机组(按吨回收)
图片尺寸480x360
上海市溴化锂换热器 316l不锈钢 溴化锂专用钎焊板式换热器
图片尺寸860x645
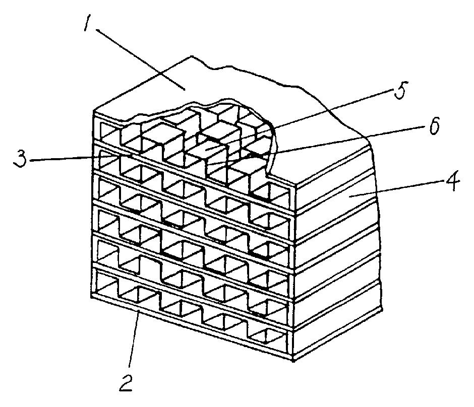
模块化溴化锂冷温水机用换热器-爱企查
图片尺寸940x808
无锡出售本庄溴化锂,满足不同客户需求
图片尺寸420x280
换热器是做什么的换热器有水垢怎么办
图片尺寸402x268
临夏回收约克溴化锂溶液
图片尺寸780x1041
0成交0台丹尼尔 智能汽水换热机组商家 溴化锂机组换热器 风冷机组
图片尺寸750x750
溴化锂机组价格_换热器_传热设备_机械及行业设备_工业品_产品_世界
图片尺寸400x400
溴化锂吸收式机组
图片尺寸752x564
溴化锂机组配件
图片尺寸469x319