溶气罐 图纸

溶气罐装置制造方法及图纸
图片尺寸960x1000
cn86209262u_卧式压力溶气装置失效
图片尺寸1824x1216
某企业生产车间废水溶气罐制作图纸
图片尺寸1020x1440
p200605-0压力溶气罐装配图dwg图纸
图片尺寸616x760
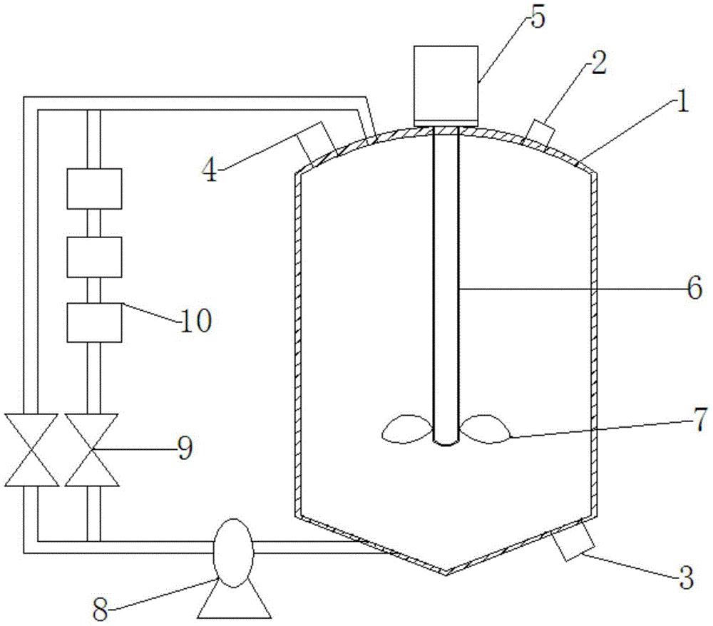
一种固体化学品溶解罐
图片尺寸1000x878
cn209367857u_一种用于气浮设备的溶气罐
图片尺寸1000x993
供应压力溶气罐压力溶气气浮溶气罐
图片尺寸364x706
北京某生产废水处理工程溶气罐图纸
图片尺寸391x560
一种气浮机溶气罐的制作方法
图片尺寸1000x558
某企业生产车间废水溶气罐制作图纸
图片尺寸358x500
处理量每小时5方溶气气浮图纸
图片尺寸581x826
一种用于气浮设备的溶气罐的制作方法
图片尺寸1000x993
cn105329968a_一种多级溶气罐有效
图片尺寸1551x756
首页 机械cad图纸200m3_h气浮处理装置溶气罐装配图 技术要求 1
图片尺寸640x452
一种自吸高效气浮系统用气浮溶气罐的制作方法
图片尺寸730x1000
工业废水处理用压力溶气罐的制作方法
图片尺寸699x1000
求5立 和 2.5立 储气罐的cad图纸,外形类似下图
图片尺寸439x551
cn209537031u_一种气浮机溶气罐有效
图片尺寸1000x556
一种气浮溶气罐装置制造方法及图纸
图片尺寸1000x492
压力溶气罐总图下载(150.97 kb,dwg格式) 机械cad图纸
图片尺寸689x625