滑动支座怎么画

管道低摩擦力滑动支座-爱企查
图片尺寸983x1368
一种可调式管夹滑动支座的制作方法
图片尺寸443x418
一种直埋蒸汽管道滑动支座的制作方法
图片尺寸1000x912
一种用于引水明管的可拆卸式滑动支座
图片尺寸320x416
一种集合管用滑动支座的制作方法
图片尺寸420x444
请问这个楼梯上的滑动支座怎么画
图片尺寸613x482
一种新型燃气轮机卧式余热锅炉scr脱硝的滑动支座
图片尺寸1340x1746
cn2733139y_新型滑动支座失效
图片尺寸1417x1267
cn209686868u_一种新型抗震滑动支座楼梯施工装置
图片尺寸1000x885
一种大跨度空间结构的限位滑移支座
图片尺寸1285x1214
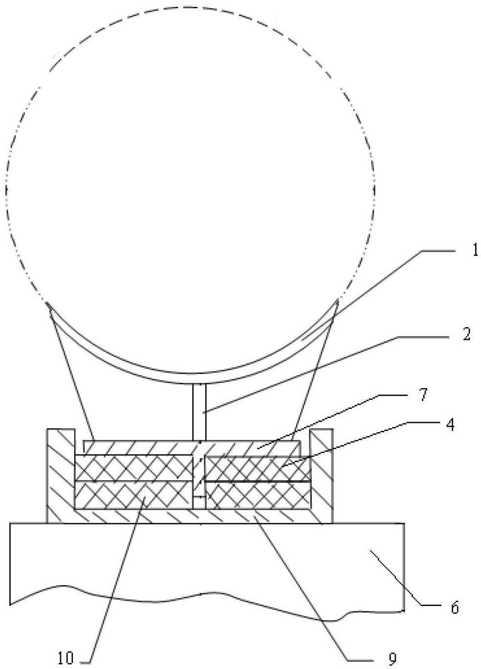
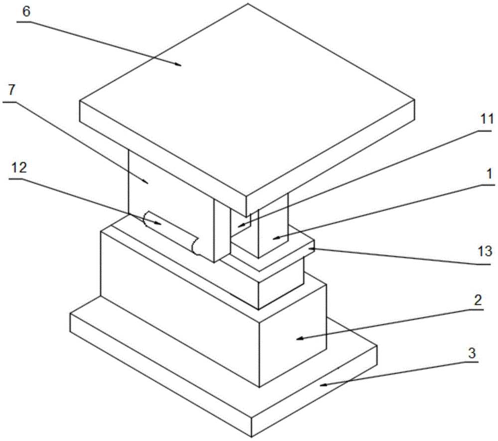
一种保温管绝热滑动支座-爱企查
图片尺寸800x702
关于滚轴式滑动支座施工技术的探讨
图片尺寸310x246
双向滑移支座滑动支座主要性能
图片尺寸851x346
一种新型燃气轮机卧式余热锅炉scr脱硝的滑动支座的制作方法
图片尺寸768x1000
一种重型大跨度桁架单向滑动橡胶支座
图片尺寸1103x1219
cn209856623u_一种新型管件滑动支座有效
图片尺寸1000x917
楼梯滑动支座怎么布置
图片尺寸480x640
一种新型管件滑动支座的制作方法
图片尺寸1000x921
一种滑动支座的制作方法
图片尺寸916x1000
一种可微调整的滑动式支座的制作方法
图片尺寸438x479