滑差轴原理

一种滑差轴
图片尺寸1647x2113
一种通用型多功能双气路滑差轴
图片尺寸1855x1539
分切机的最佳优选 滑差轴
图片尺寸574x290
多气路滑差轴的制作方法
图片尺寸358x443
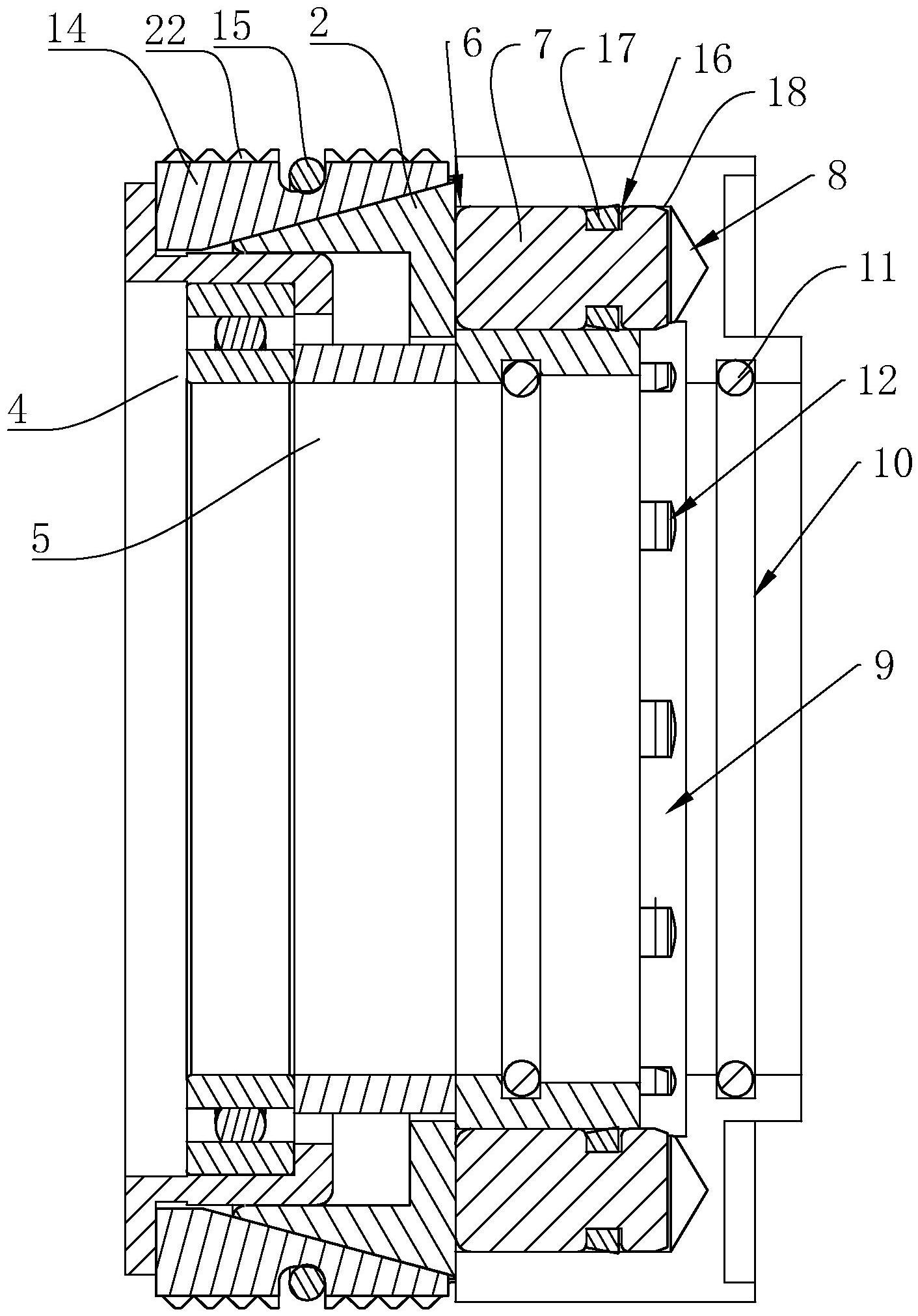
全气压式滑差轴及其滑差环单元与滑差环
图片尺寸2513x1768
kest专业制造商理电池分切机的滑差轴技术创新突破和特性
图片尺寸640x450
一种通用型多功能双气路滑差轴的制作方法
图片尺寸1000x830
一种单气路滑差轴
图片尺寸1411x2022
台湾利迅键条式板条式滑差式气胀轴可定制
图片尺寸956x565
龙海收卷轴西村滑差轴是一种用于收料的滑差式气胀轴 滑差轴维修厂家
图片尺寸660x660
2 工作原理:中心气压滑差轴是张力调节式滑差轴,滑差环独立打滑.
图片尺寸891x338
滑差轴工作原理简介
图片尺寸1280x720
一种双气路滑差轴 - cn201710827576.
图片尺寸1000x756
动画演示限滑差速器工作原理
图片尺寸1152x720
一种气涨滑差轴装置的制作方法
图片尺寸1000x584
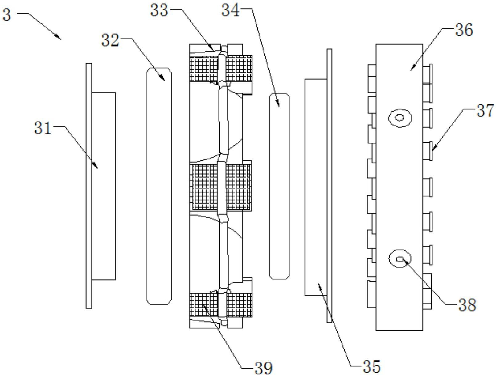
ds东伸式滑差轴
图片尺寸1593x2195
kest专业制造商理电池分切机的滑差轴技术创新突破和特性
图片尺寸640x450![[实用新型] 全气压式滑差轴 - 201020163687.](https://i.ecywang.com/upload/1/img1.baidu.com/it/u=3960263282,2459016996&fm=253&fmt=auto&app=138&f=GIF?w=717&h=500)
[实用新型] 全气压式滑差轴 - 201020163687.
图片尺寸2712x1892
cn207511601u_一种双气路滑差轴有效
图片尺寸1609x1219
cn210884715u_一种滑差轴有效
图片尺寸1139x2402