滑轨结构图

一种三节重载可伸缩式滑轨的制作方法
图片尺寸1000x507
二节重载可伸缩式滑轨的制作方法
图片尺寸1000x657
移门轨道吊轨铝合金滑道 吊滑轮轨道玻璃门吊轨木移门导轨滑道
图片尺寸743x793
cn212398812u_一种机床直线滚动导轨有效
图片尺寸1199x993
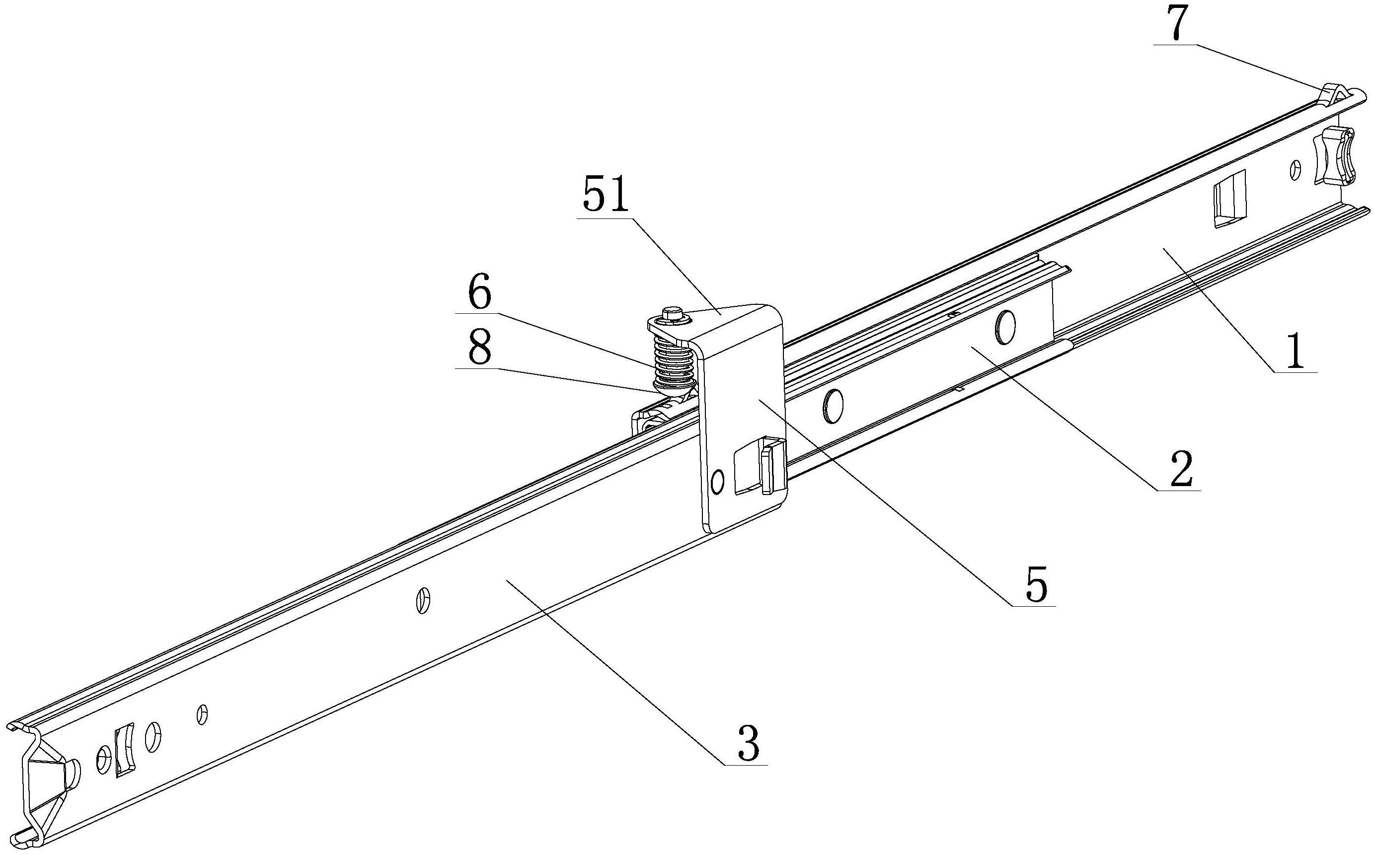
一种带有缓冲式制动功能的滑轨
图片尺寸2768x1722
本体结构
图片尺寸2792x2026
cn100447016c_汽车座椅用滑轨有效
图片尺寸2584x1816
一种下肢训练滑轨
图片尺寸2202x1133
hsr-r直线导轨结构图
图片尺寸1000x817
第68回 滑动导轨说明4:直线导轨的基本构造
图片尺寸527x265
工厂供应35宽三节钢珠静音缓冲滑轨抽屉导轨路轨
图片尺寸750x746
汽车座椅用双丝杆长滑轨及其传动方法
图片尺寸1705x1944
乐品直线导轨结构介绍有那些
图片尺寸507x326
线性导轨的选型方法1---确定轨宽:轨宽指滑轨的宽度.
图片尺寸750x364
cn101991281b_底装式抽屉滑轨有效
图片尺寸2696x1902
一种延时摄影电控滑轨结构
图片尺寸1000x736
当前线性滑轨产品与技术的演进
图片尺寸610x375
汽车座椅用滑轨
图片尺寸2472x1664
一种自关抽屉滑轨的制作方法
图片尺寸810x538
台稳twin直线导轨线性滑轨结构有哪些优点
图片尺寸638x621