滑轨设计

滑轨-爱企查
图片尺寸1061x674
lh4572模组3d滑轨 - 小五金模型图纸 - 沐风网
图片尺寸820x513
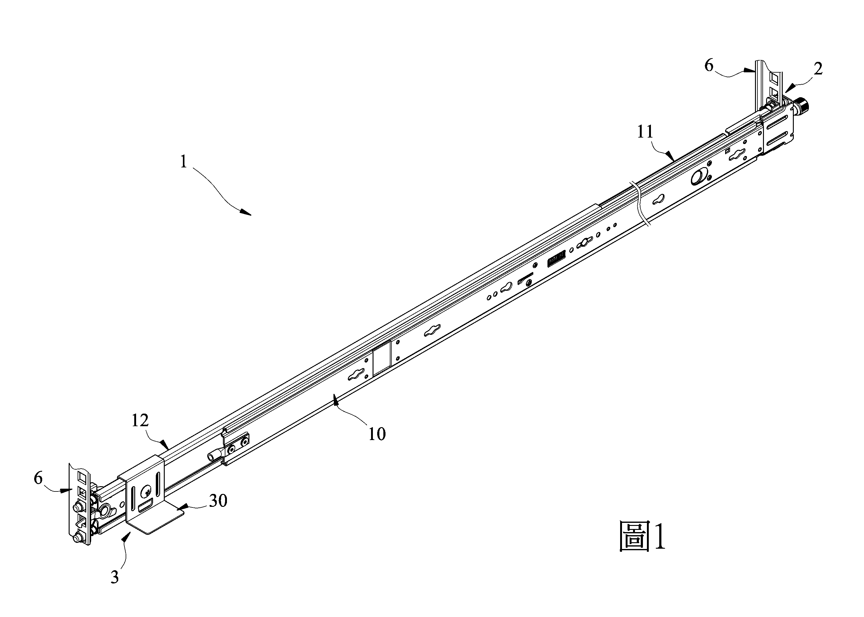
滑轨总成-天眼查
图片尺寸2806x2005
滚轮式线性滑轨rsr25-1603d模型下载_三维模型_step模型 - 制造云 |
图片尺寸530x333
重型托底轨#家装装修 #设计 #全屋定制 #滑道 #抽屉滑轨 - 抖音
图片尺寸1440x1440
电动直线滑轨设计模型图 - 小五金模型图纸 - 沐风网
图片尺寸716x526
滑轨支撑构造专利_专利申请于2006-05-11_专利查询 - 天眼查
图片尺寸2516x1695
抽屉滑轨3d图step/solidworks家居家具三维设计机械设计用图纸
图片尺寸800x800
同步滑轨制作方法专利_专利申请于2007-08-28_专利查询 - 天眼查
图片尺寸2694x1928
线性滑轨3d模型下载_三维模型_solidworks模型 - 制造云 | 产品模型
图片尺寸493x410
cad资源在线交易网-企业产品模型下载收录网-制造业专业设计软件服务
图片尺寸1920x1080
lh4572模组3d滑轨 - 小五金模型图纸 - 沐风网
图片尺寸820x508
2款samet a.s.智能滑轨图纸下载_小五金模型图纸 - 沐风网
图片尺寸737x726
变压器运配滑轨车-爱企查
图片尺寸864x664
滑轨设计模型 - 小五金模型图纸 - 沐风网
图片尺寸820x284
滑轨msa15a3d模型下载_三维模型_autocad模型 - 制造云 | 产品模型
图片尺寸530x297
滑轨设计x_t图纸三维模型 - 机械5
图片尺寸291x218
提升机构3d设计 - 输送和提升设备图纸 - 沐风网
图片尺寸820x504
迷你硬币分拣机设计-分选机械【5张cad图纸和说明书全套】_装配图网
图片尺寸1200x800
catia轨道/滑轨/导轨图纸下载_catia免费图纸,设计模型大全 - 沐风网
图片尺寸285x297