滑轮图纸

🪜 滑轮组知识点大揭秘!
图片尺寸1080x1413
a3 滑轮.pdf
图片尺寸800x566
滑轮cad设计图分享.这单画了120元.#cad 你们看看怎
图片尺寸3054x2160
图片尺寸750x1389
一种可调节式滑轮专利
图片尺寸1554x1454
如图所示,是为了搬运建筑材料而使用的简单机械.此滑轮组在1min内将一
图片尺寸1127x1378
半门钢丝绳滑轮组dbg04.07
图片尺寸1152x2072
图纸来了:定滑轮(26期工业产品类)#图纸 #solidwo
图片尺寸1440x2024
滑轮装配设计图分享.这单徒弟画了310元.#cad 大家看看
图片尺寸1152x820
一种焊接滑轮的制造工艺
图片尺寸876x548
滑轮cad图纸
图片尺寸1600x1280
滑轮装配设计图分享.这单徒弟画了310元.#cad 大家看看
图片尺寸1918x1356
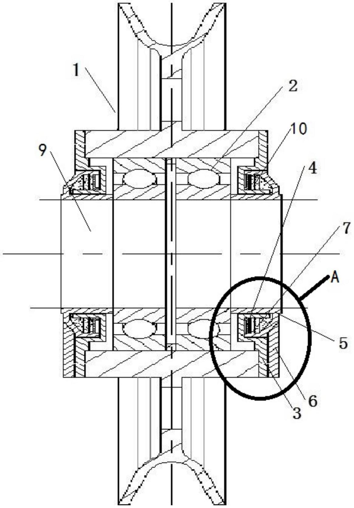
一种密封滑轮
图片尺寸1164x1667
下午接了这一单压紧滑轮加工图纸195块钱.#cad教程 大家
图片尺寸2036x1440
一种滑轮的制作方法
图片尺寸1468x1905
Φ520xh370的平行放置的改向滑轮组设计cad图纸
图片尺寸820x572
图纸来了:定滑轮.第7期 cad技能一级考试试题
图片尺寸1440x2578
定滑轮cad图纸dwg图纸
图片尺寸873x624
一种双滑轮软横跨悬吊滑轮
图片尺寸571x800
管道滑轮各型号尺寸详图#全国发货欢迎合作 #只做高品质
图片尺寸1288x948