滚珠闭锁结构图

滚珠式闭锁结构
图片尺寸483x298
(b)惯性杆反向放置后,枪机闭锁时,闭锁滚柱受到复进簧和惯性杆
图片尺寸672x497
上图为枪弹进膛,枪成待发状态:1-枪弹;2-机头;3-闭锁楔铁;4-击针;5-击
图片尺寸390x250
门锁构造如果低成本开锁diy
图片尺寸856x942
国际认可|名门静音锁体斜舌缓冲结构荣获美国发明专利证书!-智能锁网
图片尺寸640x1137
弹壳)图二 米尼埃子弹(前装线膛枪使用)图一 击锤式火帽枪枪机结构图
图片尺寸640x475
火药燃气的压力通过弹壳使机头后坐,机头又施力于滚柱,滚珠在闭锁槽的
图片尺寸490x366
石女阴道闭锁图
图片尺寸1500x1000
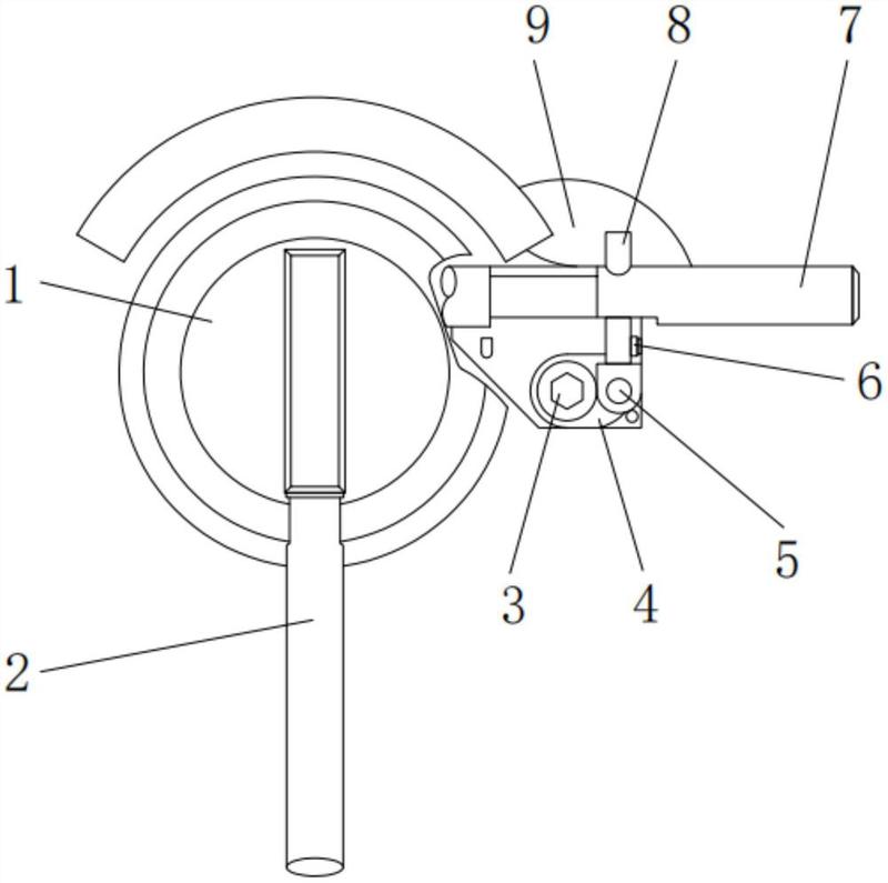
摘要附图摘要本实用新型公开了一种解锁装置,包括闭锁结构本体,状态
图片尺寸800x795
图1:▲mg42枪机开闭锁过程原理简图所以,通过这几段话的介绍,我们可以
图片尺寸919x581
关于枪机偏转闭锁是如何实现的? - 知乎
图片尺寸595x965
sks的枪机的开闭锁动作示意图
图片尺寸595x965
从毛瑟步枪到ak-47,枪支如何实现"全自动"?
图片尺寸487x379
狗在交配时为什么要闭锁半小时人类为什么没有进化出这种方式
图片尺寸640x480
凤凰涅盘
图片尺寸670x592
于是乎,在子弹击发之后,套筒会通过闭锁槽带着枪管向后进行后坐,这就
图片尺寸660x364
m1911的内部结构明显就比鲁格,毛瑟,博查特强不少.
图片尺寸660x384
cn210105539u_汽车左前门闭锁器有效
图片尺寸571x646
【图片】再开一贴 为了大家哥们我拼出去了 枪械闭锁方式不完全科普
图片尺寸562x566
狗子在交配过后,为何会背靠背闭锁?这不是很危险吗?
图片尺寸477x305