滚筒式炒药机结构图

简述滚筒式炒药机与平锅炒药机工作原理
图片尺寸324x309
筒式炒药机|中药炒药机|小型炒药机|中药炒制设备
图片尺寸386x291
滚筒式炒药机的制作方法
图片尺寸1000x690
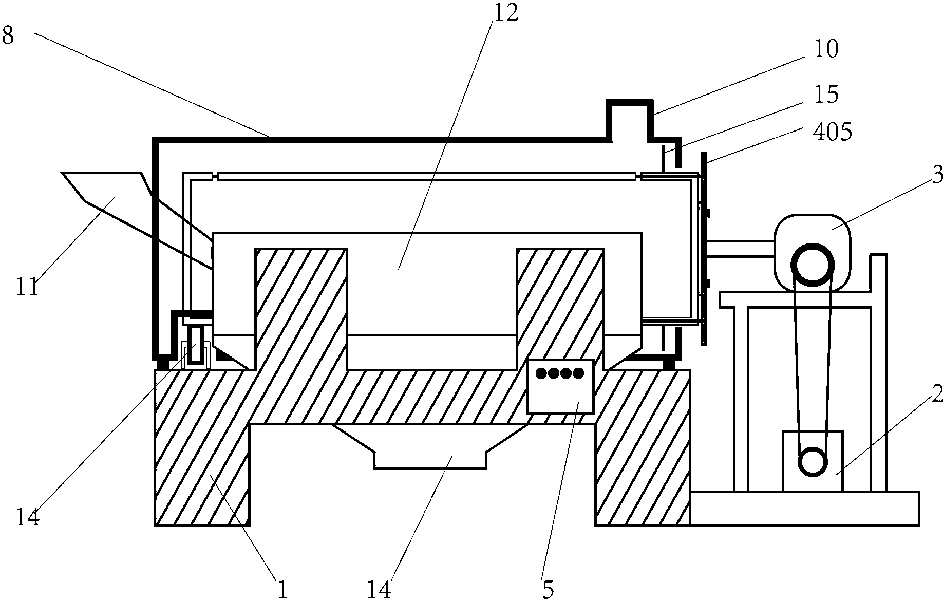
一种滚筒式炒药机的制作方法
图片尺寸1000x626
厂家直销 炒药机 中药炒药机 中药材的炒类加工 质量保证
图片尺寸750x448
cn208301878u_一种高效滚筒式炒药机有效
图片尺寸466x287
简述滚筒式炒药机与平锅炒药机工作原理
图片尺寸354x253
cn208212206u_一种滚筒式电炒药机有效
图片尺寸1836x1170
一种高效滚筒式炒药机的制作方法
图片尺寸470x295
一种可水幕除尘的滚筒式炒药机的制作方法
图片尺寸1000x574
一种滚筒式炒药机的制作方法
图片尺寸518x399
一种均匀受热可调节温度的滚筒式炒药机的制作方法
图片尺寸443x381
炒药机
图片尺寸1000x628
一种滚筒式中药饮片加工用炒药机的制作方法
图片尺寸1000x845
一种小型炒药机-爱企查
图片尺寸1821x1282
一种方便伸展的滚筒式炒药机的制作方法
图片尺寸443x306
一种中药饮片生产用高效炒药机的制作方法
图片尺寸1000x934
一种滚筒式炒药机的制作方法
图片尺寸394x444
滚筒式控温炒药机的制作方法
图片尺寸1000x851
一种带有排气装置的炒药机的制作方法
图片尺寸1000x949