滚筒车简笔画

儿童简笔画水泥滚筒车,涂颜色右脑开发
图片尺寸480x270
滚筒,草绘为孤立的白色背景上的小婴儿推车婴儿车
图片尺寸1024x916
滚车简笔画图片
图片尺寸900x600
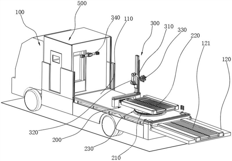
一种滚筒对接式自动导引运输车-爱企查
图片尺寸1569x1399
滚车简笔画图片
图片尺寸900x600
趣味简笔画:画彩色滚筒车
图片尺寸496x280
滚筒车简笔画
图片尺寸550x353
各种各样的车简笔画
图片尺寸1080x810
商标logo
图片尺寸800x556
简单的大吊车简笔画
图片尺寸567x567
(3)和安全防护装置(4),机架本体(2)包括小车底盘(21),滚筒输送主动侧
图片尺寸800x450
消防车的简单画法_消防车简笔画-简笔画大全
图片尺寸1500x944
垃圾车简笔画画法
图片尺寸900x600
消防车简笔画
图片尺寸600x407
qq红包消防车怎么画_消防车简笔画-简笔画大全
图片尺寸526x378
攪拌車简笔画带颜色
图片尺寸500x313
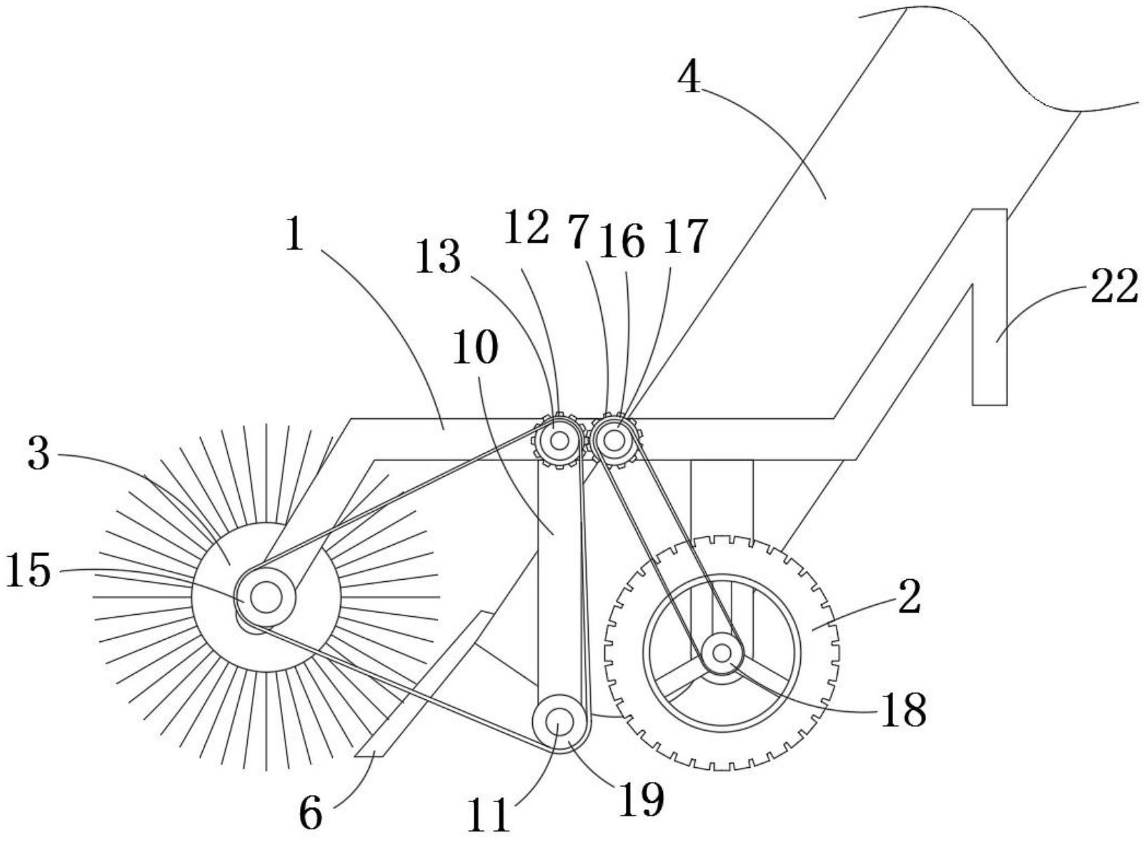
一种应用于清扫车的滚筒式清扫装置-爱企查
图片尺寸1640x1204
卡通消防车简笔画
图片尺寸1500x1298
工程车简笔画
图片尺寸255x185
简笔画油罐车
图片尺寸900x558