滚轮挺柱企业

滚轮液压挺柱
图片尺寸600x600
滚轮液压挺柱
图片尺寸600x600
滚轮液压挺柱
图片尺寸600x600
滚轮液压挺柱
图片尺寸600x600
滚轮液压挺柱
图片尺寸600x600
滚轮液压挺柱杯状机械挺柱vvt总数:12条 当前页数:1/1首页上一页1下
图片尺寸1378x1378
滚轮液压挺柱
图片尺寸600x600
6万只相似适用于雪佛兰v835液压滚轮升降机气门挺杆配
图片尺寸800x800
图为液压挺柱和滚轮摇臂装配线.
图片尺寸550x388
跨境电商爆款气门挺柱,液压挺杆,滚轮挺柱产品专业定制生产
图片尺寸1246x1079
基本型杯状液压挺柱滚轮液压挺柱杯状机械挺柱vvt总数:12条 当前页数
图片尺寸1378x1378
一种滚轮式挺柱-爱企查
图片尺寸248x348
0 液压气门挺杆 挺柱 1226
图片尺寸800x1338
轻量化的滚轮挺柱
图片尺寸1229x1689
适用于比亚迪g6滚轮轮式挺柱速锐思锐s6秦宋宋其他
图片尺寸561x420
其它柴油机上用的液压挺柱,位于滚轮摇臂的一端,向上提供支撑力,而
图片尺寸640x475
挺柱
图片尺寸1600x1200
适用于一套4个滚轮挺杆挺杆挺杆适合哈雷进化evo 1340cc 84-99
图片尺寸800x800
玉柴c3000-1007070b 滚轮挺柱组件
图片尺寸1280x1280
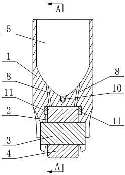
滚轮挺柱导向结构及发动机-爱企查
图片尺寸800x720