滚轮结构图

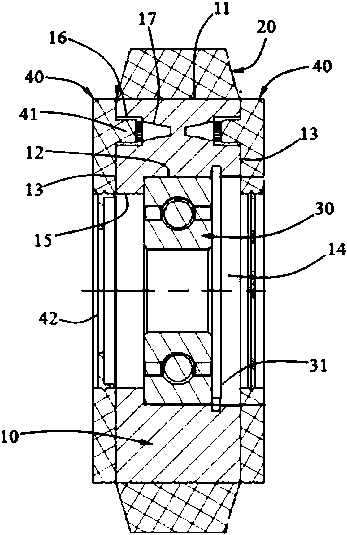
s/p型重型滚轮采用调心滚子轴承钢结构.;介绍
图片尺寸883x403
cn2118653u_输送机滚轮失效
图片尺寸800x1292
cn201012895y_可调节主侧滚轮单元失效
图片尺寸955x1231
cn213199353u_一种耐磨行李车滚轮
图片尺寸1294x1398
金刚石滚轮成形砂轮修整器的结构设计
图片尺寸2400x1158
新型导缆滚轮
图片尺寸2072x2953
耐磨键驱动滚轮
图片尺寸2441x1701
塔式起重机设计【4张cad图纸 文档全套文件】
图片尺寸1200x800
一种箱包用滚轮的制作方法
图片尺寸904x1000
一种用于过山车的新型滚轮的制作方法
图片尺寸444x375
主动滚轮组件示意图
图片尺寸694x629
一种耐摩擦减震聚氨酯橡胶滚轮的制作方法
图片尺寸1000x890
cn108715388a_一种无噪音的电梯滚轮组件在审
图片尺寸1121x1725
一种负荷式滚轮结构的制作方法
图片尺寸747x665
一种滚轮安装结构-爱企查
图片尺寸736x800
滚轮式剥线装置设计及仿真【三维proe】【8张cad图纸 说明书全套文件
图片尺寸1200x800
16吨定滑轮组g860
图片尺寸1112x795
一种铝合金轮毂整体胶轮的滚轮结构
图片尺寸404x553
本发明属于滚轮结构技术领域,具体涉及一种高强度自动扶梯滚轮的生产
图片尺寸788x1000
滑轮cad图纸
图片尺寸1600x1280