滤水板施工图

一种压滤机用滤板-爱企查
图片尺寸1475x1252
30000m06每天v型滤池设计剖面图讲解(三)
图片尺寸1866x1080
生物滤池滤板结构施工图dwg
图片尺寸449x292
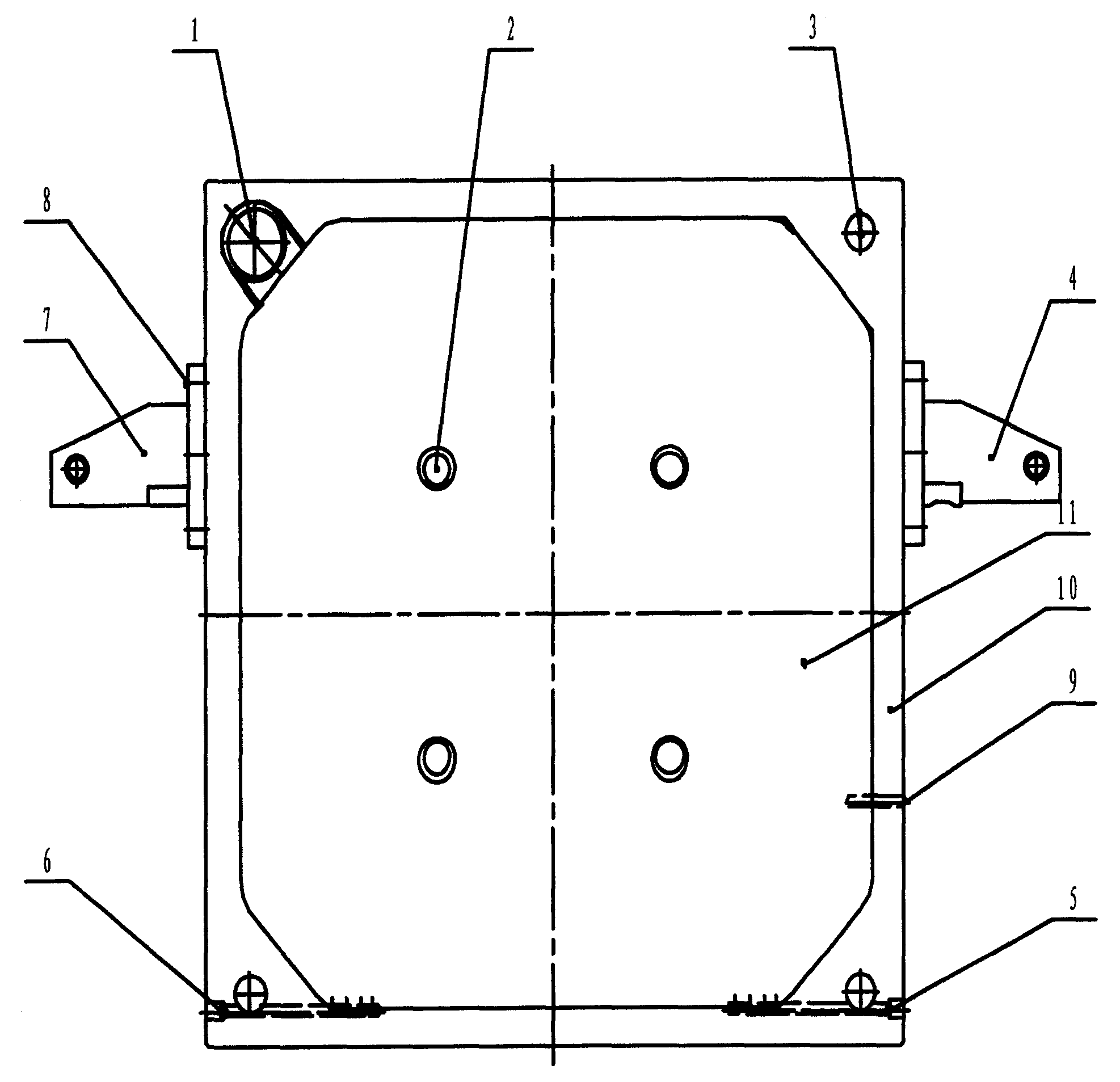
角进料隔膜滤板
图片尺寸1974x1907
浅谈翻板滤池在水处理工艺中的应用
图片尺寸329x392
过滤网水泵平台斜梯申明:内容来自用户上传,著作权归原作者所有,如
图片尺寸618x458
【专题】地下室滤水板地坪
图片尺寸603x589
30000m06每天v型滤池设计施工剖面图讲解(四)
图片尺寸1917x1080
cn207286788u_一种压滤机的厢式滤板失效
图片尺寸1841x1421
水处理工程构筑物及设备(水处理构筑物) 砂滤池滤板制作安装图
图片尺寸1440x1020
最新 ,为什么国家标准提倡不降板同层排水系统?
图片尺寸776x597
一种中间进料的滤板的曲张卸料结构及其滤板的制作方法
图片尺寸1000x914
30000m06每天v型滤池细部大样图讲解
图片尺寸1493x1080
一种压滤机的厢式滤板的制作方法
图片尺寸1000x896
滤板下面的空间后,缓慢地形成空气层,并逐渐变厚,空气层下面的水
图片尺寸579x339
a1-v型滤池工艺图a1-二泵站工艺图a1-清水池工艺图a1-一泵站工艺图
图片尺寸820x554
塑料滤水板施工方法_第1页
图片尺寸1860x2631
沭阳沂河北区域供水水厂工艺设计
图片尺寸820x551
【专题】地下室滤水板地坪
图片尺寸734x424
板楼顶花园凹凸型塑料阻根防水排水板滤水板提示语一平方需要拍4件
图片尺寸750x887