滤网简笔画
![关键词 : 滤网,手绘图,简笔图,厨房用具,插图,图示,图标[声明] 觅元素](https://i.ecywang.com/upload/1/img1.baidu.com/it/u=561062626,873411123&fm=253&fmt=auto&app=138&f=JPEG?w=500&h=500)
关键词 : 滤网,手绘图,简笔图,厨房用具,插图,图示,图标[声明] 觅元素
图片尺寸610x610
一种使用茶梗作为滤芯的过滤网
图片尺寸1000x551
筛网的线画-简单线矢量
图片尺寸1200x750
简笔画网图片
图片尺寸1024x942
一种吸油烟机过滤网结构及吸油烟机的制作方法
图片尺寸995x1000
滤网简笔画
图片尺寸500x644
cn2930213y_通风防尘过滤网失效
图片尺寸916x1564
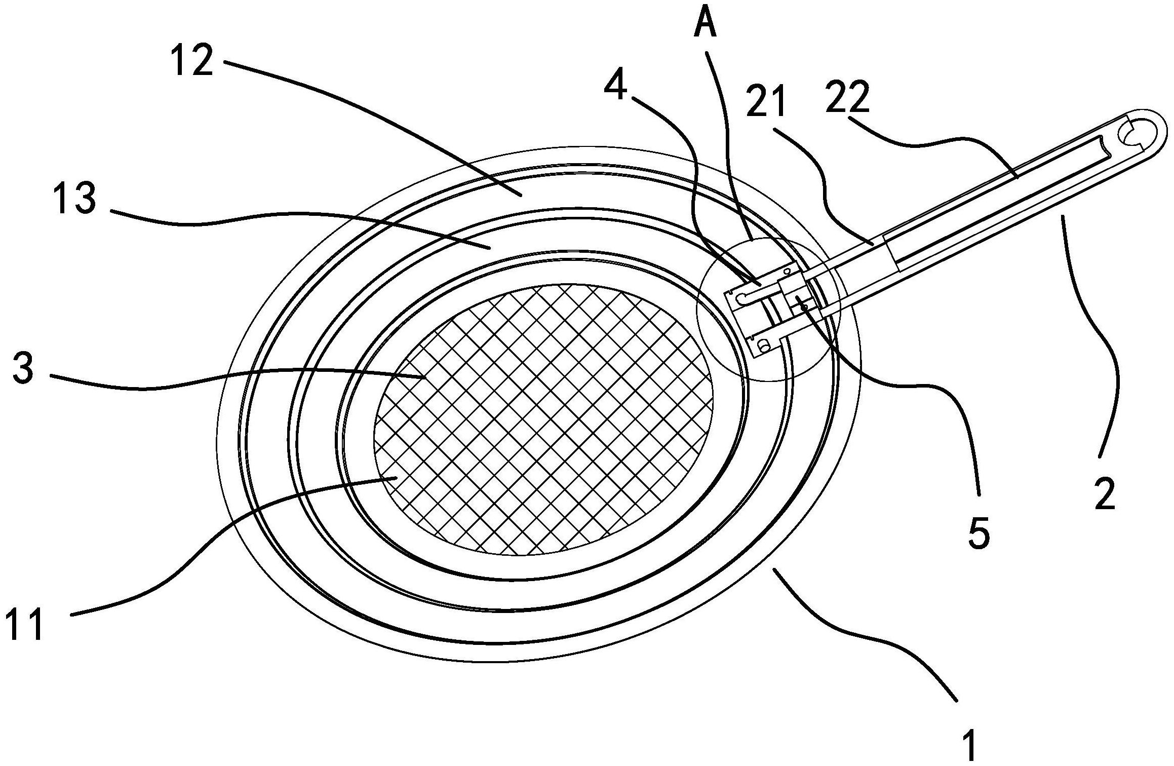
一种可折叠的滤网
图片尺寸2318x1512
一种可自动提醒清洁滤网的空气净化器
图片尺寸1543x2108
一种过滤网
图片尺寸827x1000
关键词 : 孔,滤网,滤器,厨房用具,工具,器皿,家具和家居
图片尺寸512x512
灌装阀滤网-爱企查
图片尺寸1757x1118
格力空调怎么清洗滤网_滤网怎么拆_智能家
图片尺寸523x435
一种专用圆形过滤网的制作方法
图片尺寸1000x988
细线滤网轮廓图标矢量插图.
图片尺寸1100x1100
一种可用作取茶用具的茶杯过滤网
图片尺寸1406x1478
一种空气净化器的过滤网制造技术
图片尺寸1000x780
cn106621560a_一种双层过滤网失效
图片尺寸277x316
cn206337263u_一种微细胞过滤网有效
图片尺寸1000x573
一种便于拆装的初效过滤网的制作方法
图片尺寸426x443