滴速控制器

upr-200输液控制器
图片尺寸1646x2741
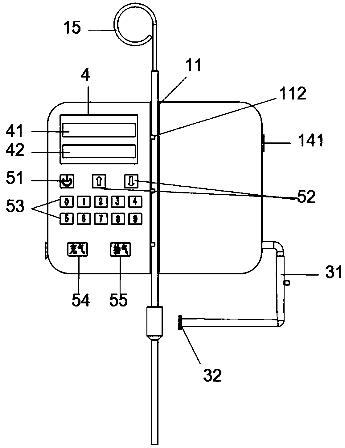
输液控制器
图片尺寸3143x3543
可调节滴速的输液器
图片尺寸1568x1568
这个我不太会看,但是我知道貌似是控制滴速的
图片尺寸500x890
调控滴速输液器
图片尺寸1981x1471
一种静脉输液滴速自动控制器制造技术
图片尺寸781x1000
输液控制器
图片尺寸1214x1080
输液滴速控制器调节浇花滴管自动水量控制懒人其他阀门
图片尺寸820x820
有哪些你想发明却已经被人发明了的东西?
图片尺寸720x637
滴速式输液控制器的制作方法
图片尺寸336x443
输液泵-上海蓝德医疗器械有限公司-东方医疗耗材网
图片尺寸540x625
不需要人工控制,例如,液体输完可自动关闭,可智能控制输液速度等等
图片尺寸327x282
输液滴速调节器
图片尺寸300x300
输液滴速调节控制器特大号流量断流开关流量限制止水开关阀门输液
图片尺寸800x800
一种静脉输液滴速自动控制器的制作方法与工艺
图片尺寸1000x935
输液滴速自动控制装置
图片尺寸1014x830
一种静脉注射的药液滴速控制装置的制作方法
图片尺寸1000x369
sunding bike computer speedometer wireless waterproof
图片尺寸1010x1010
一种输液滴速监控结构
图片尺寸1119x1450
新款 自动浇花器 可调节水流滴水器 带开关控制阀门 浇水器
图片尺寸800x800