潘巨林吉利

昨夜,吉利"出生地"临海签下30万辆汽车产业园
图片尺寸600x400
吉利人才森林峰会在我市举行
图片尺寸600x400
高级经济师潘巨林时,梅式苗说,过去一年,吉利集团坚持创新发展,捷报频
图片尺寸600x375
潘巨林介绍了吉利汽车临海产业园(30万辆)扩建项目情况.
图片尺寸600x394
柯昕野首先走访了浙江豪情汽车制造有限公司总经理潘巨林,为他
图片尺寸530x330
权威发布 | 临海市新一届人大常委会及专门委员会领导班子选举产生!
图片尺寸472x591
章卡鹏 程誉技 潘巨林 戴宝林贺先顺 曹凌云(女)崔 融 崔允灶金小刁
图片尺寸1280x601
3亿元人民币,法定代表人为潘巨林,经营范围包含汽车,发动机及零配件
图片尺寸700x660
学生开心参与心语社,潘校长寄语健康成长
图片尺寸589x356
何双伶 通讯员 毕伟伟)日前,吉利汽车临海产业园董事长潘巨林驱车10余
图片尺寸325x504
cn103449174a_一种悬挂式侧围从动小车有效
图片尺寸592x432
cn103252570b_一种带冷却装置的凸焊下电极失效
图片尺寸1546x1548
吉利控股集团有限公司浙江陆虎汽车有限公司发明人:张萍蒋正贵潘巨林
图片尺寸1941x1605
阳光天下城
图片尺寸800x532
找到"潘巨林"的相关结果344个_专利免费查询检索_飞镖网
图片尺寸863x752
发明人 陈侠明;潘巨林 申请人 浙江吉利控股集团有限公司
图片尺寸1000x621
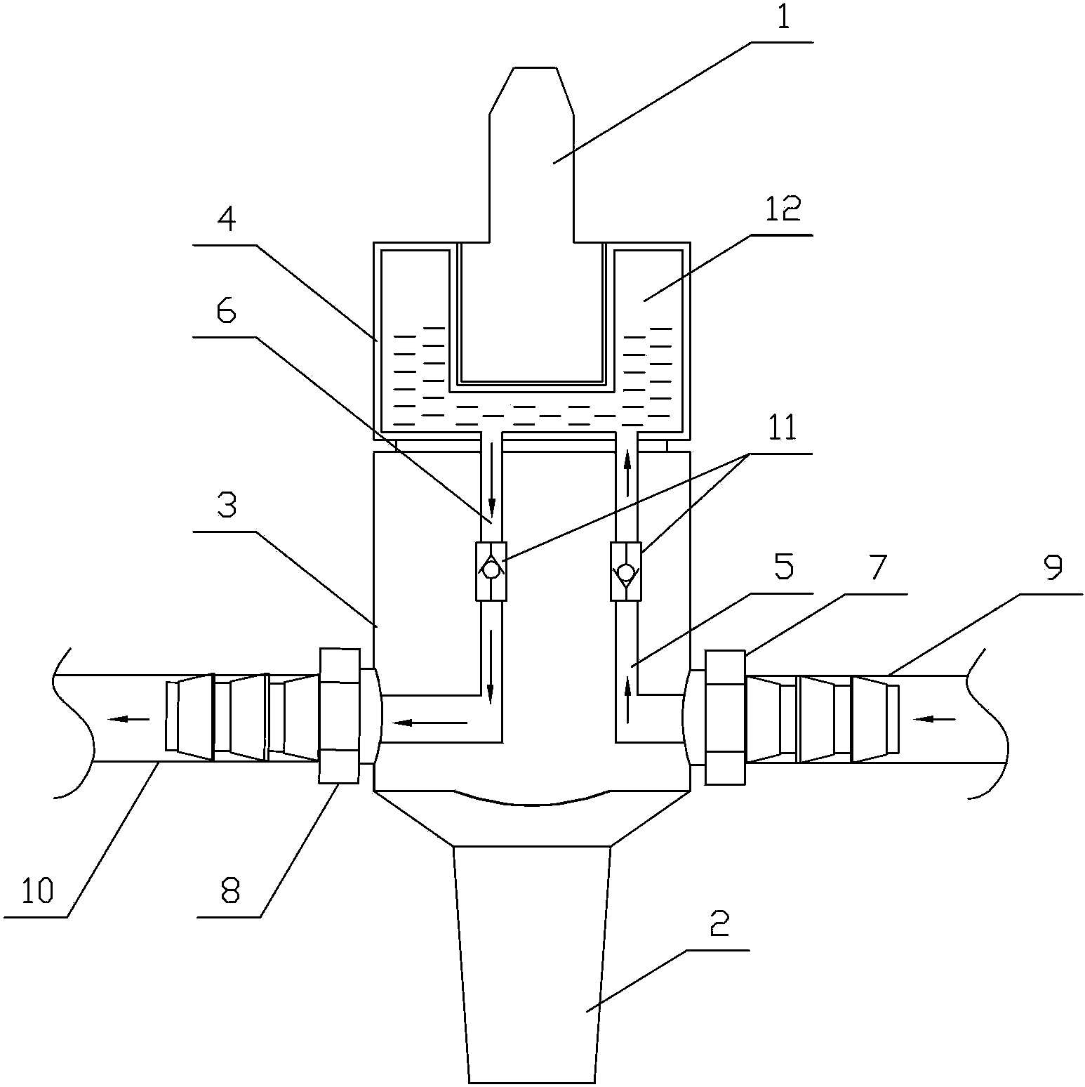
cn102853861a_指针式仪表附件失效
图片尺寸755x1000
发明名称 一种密封条敲击装置 发明人 廖祥飞;潘巨林 申请人 浙江吉利
图片尺寸1000x736
cn103512818b_一种汽车标贴耐磨损性能试验台失效
图片尺寸1000x594
cn203237201u_汽车安全带锁扣固定装置有效
图片尺寸740x1000