潜望镜制作图纸

物理制作潜望镜
图片尺寸1000x1286
其它 自制潜望镜 写美篇 步骤: 剪下图纸两张 粘贴镜子 安装潜望镜
图片尺寸2000x2667
一种管道潜望镜-爱企查
图片尺寸1123x2681
潜望镜
图片尺寸954x529
怎样用牙膏盒作潜望镜要图
图片尺寸500x469
怎样用牙膏盒作潜望镜要图
图片尺寸500x322
木玩世家woodentoysfamily五年级潜望镜制作材料纸质伸缩潜望镜制作
图片尺寸350x350
今天,科学老师的作业有一项是 制作潜望镜,我马上想到我最近买的天文
图片尺寸3240x2681
水底潜望镜
图片尺寸155x248
8潜望镜的秘密课件2ppt
图片尺寸920x690
潜水艇下潜后艇内人员可以用潜望镜观察水面情况用两块平面镜做潜望镜
图片尺寸500x422
潜望镜工作原理图
图片尺寸500x375
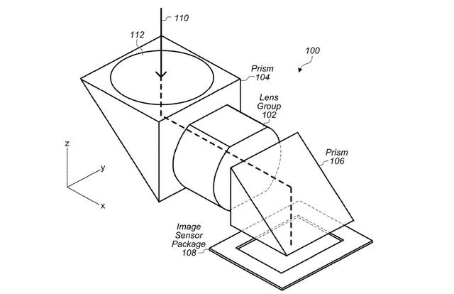
专利文档显示iphone电动潜望镜摄像头可提供光学防抖和自动对焦功能
图片尺寸640x414
通过学习8《潜望镜的秘密》,大家了解了潜望镜的制作原理.
图片尺寸1133x1080
儿童手工制作潜望镜教案-潜望镜的制作方法图解
图片尺寸500x393
潜望镜的制作方法图解
图片尺寸600x426
八年级物理组自制潜望镜手抄报
图片尺寸700x636
八年级物理上册光——平面镜的应用——简易潜望镜的成像原理
图片尺寸1728x1080
用三棱镜做潜望镜 为什么是虚像
图片尺寸340x232
潜望镜
图片尺寸728x552