潮汐种植原理图示

潮汐式灌溉技术在蔬菜育苗上的应用
图片尺寸828x505
潮汐式苗床工作原理
图片尺寸640x403
潮汐式鱼菜共生种植系统/阳台种菜/气雾栽培/无土栽培设备
图片尺寸635x655
cn204146136u_一种潮汐式种植系统及养鱼系统失效
图片尺寸1000x575
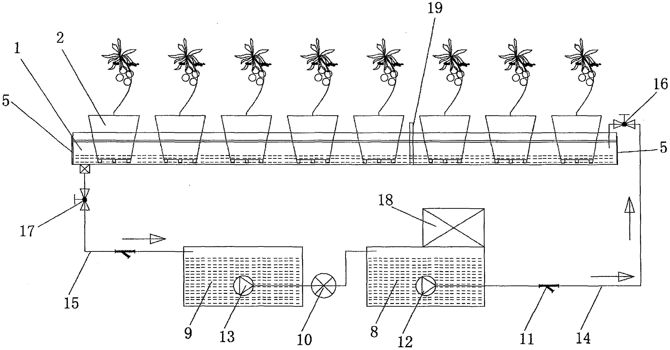
一种盆花潮汐式灌溉种植槽系统
图片尺寸2706x1415
海洋潮汐形成原理示意图8527233矢量图片免抠素材
图片尺寸680x517
潮汐式灌溉系统是基于潮水涨落原理而设计的一种高效节水灌溉系统,它
图片尺寸1000x726
涨潮退潮时间表 2023年潮汐表 - 天云网
图片尺寸883x666
sdgs共创工作坊丨陈鹭真红树林的蓝色畅想
图片尺寸1080x523
水培装置的各种常见模式 1
图片尺寸518x234
学术情境试题147:潮汐树与潮汐森林
图片尺寸780x1142
关于潮汐你应该知道的地理知识
图片尺寸1080x643
无土栽培灌溉系统潮汐式种植系统
图片尺寸800x800
1农业的区位选择课时提升作业(十九)(含解析)答案
图片尺寸887x437
第1题,从材料中可以看出延庆生产出优质水果玉米是采用了新型的种植
图片尺寸893x267
教程鱼菜共生系统一体水循环全套阳台设备虹吸种植潮汐种植
图片尺寸800x800
海洋潮汐成因的示意图.已知太阳质量为2×1030kg.月球质量为7.
图片尺寸352x279
【一啸百科】潮汐的成因以及对垂钓影响
图片尺寸850x1095![完成下题. 有关潮汐现象的说法.正确的是 [ ] a.](https://i.ecywang.com/upload/1/img1.baidu.com/it/u=1329188585,3836176487&fm=253&fmt=auto&app=138&f=GIF?w=436&h=166)
完成下题. 有关潮汐现象的说法.正确的是 [ ] a.
图片尺寸436x166
家庭阳台养鱼种菜种花草莓鱼菜共生潮汐种植潮汐模块
图片尺寸1024x1024