激光剑图纸

激光宝剑
图片尺寸1000x749
dlask 1911 mainspring housing, various
图片尺寸1039x834
使用激光,可以伸缩的光剑,才是好光剑
图片尺寸500x313
high-power external-cavity optically-pumped semiconductor lasers
图片尺寸2387x3931
kupplung zur drehmomentübertragung von einem durch
图片尺寸1536x2889
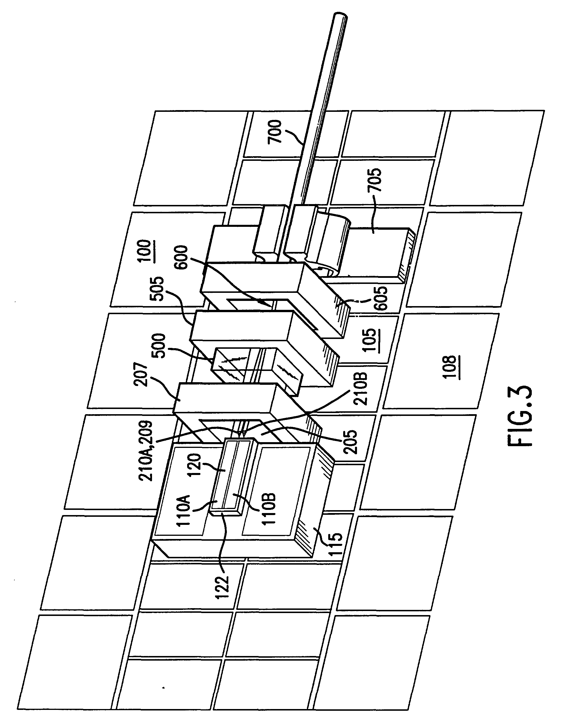
laser system with multi-stripe diode chip and in
图片尺寸1952x2505
model she530 injection unit a b screw diamete
图片尺寸586x546
燕青光剑燕青睡莲星球大战原力激光剑可拆金属发声光成人玩具生日礼物
图片尺寸750x1333
武器图纸
图片尺寸960x720
wo2019148812a1_jetting, expansion and extrusion com
图片尺寸1744x2436
链接剑 -模具下载-莫西图纸
图片尺寸700x465
宝剑
图片尺寸1280x1729
cad图纸剑
图片尺寸300x266
红色激光剑blender模型
图片尺寸603x467
高能激光武器的现状与发展趋势
图片尺寸1801x1240
激光剑星球大战玩具 - 抖音
图片尺寸800x800
激光剑发光动画特效
图片尺寸800x566
激光剑激光束特效合成素材24
图片尺寸820x461
一种节能型激光器的制作方法与工艺
图片尺寸1000x913
收集了一组剑的绘制参考,绘制人物时候兴许会用的着,有兴趣的可以收藏
图片尺寸736x883