激光打标机图纸

激光打标机制造技术
图片尺寸867x1000
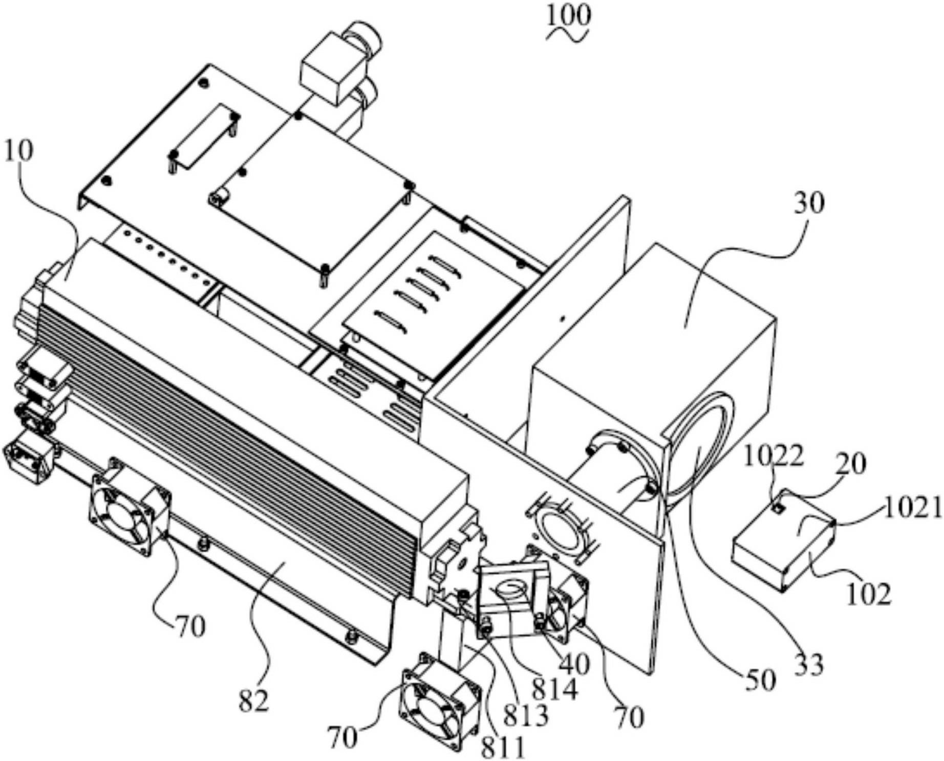
一种激光打标机及其自动对焦打标方法
图片尺寸1669x2511
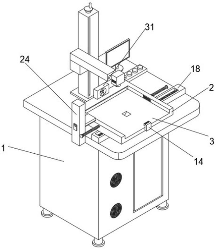
一种全自动紫光激光打标机的制作方法
图片尺寸987x1000
紫外激光打标机_光纤激光切割机品牌-龙泰
图片尺寸790x587
一种二氧化碳激光打标机-爱企查
图片尺寸695x799
cn210306283u_光纤激光打标机有效
图片尺寸1523x1380
安康光纤激光打标机 安康激光打标机 安康激光雕刻机
图片尺寸1600x1280
激光打标机3d图纸非标自动化设备3d图纸3d模型
图片尺寸800x800
光纤激光打标机
图片尺寸1000x906
工业光纤激光打标机的原理是什么?
图片尺寸600x306
一种激光打标机的制作方法
图片尺寸754x1000
一种ic芯片加工用全自动激光打标机的制作方法
图片尺寸443x321
带环激光打标机图纸
图片尺寸820x644
镭射激光打标机器 - 机械加工图纸 - 沐风网
图片尺寸820x550
旋转式激光打标机的制作方法
图片尺寸1000x796
激光打标机-爱企查
图片尺寸1844x1487
多工位自动激光打标机制造技术
图片尺寸625x667
全自动非标激光打标机模型 - 机械加工图纸 - 沐风网
图片尺寸694x497
紫外激光打标机muv5aa
图片尺寸734x541
pcb在线式激光打标机总装 - 机械加工图纸 - 沐风网
图片尺寸1100x602