灌装头原理图

b线khs灌装原理
图片尺寸623x552
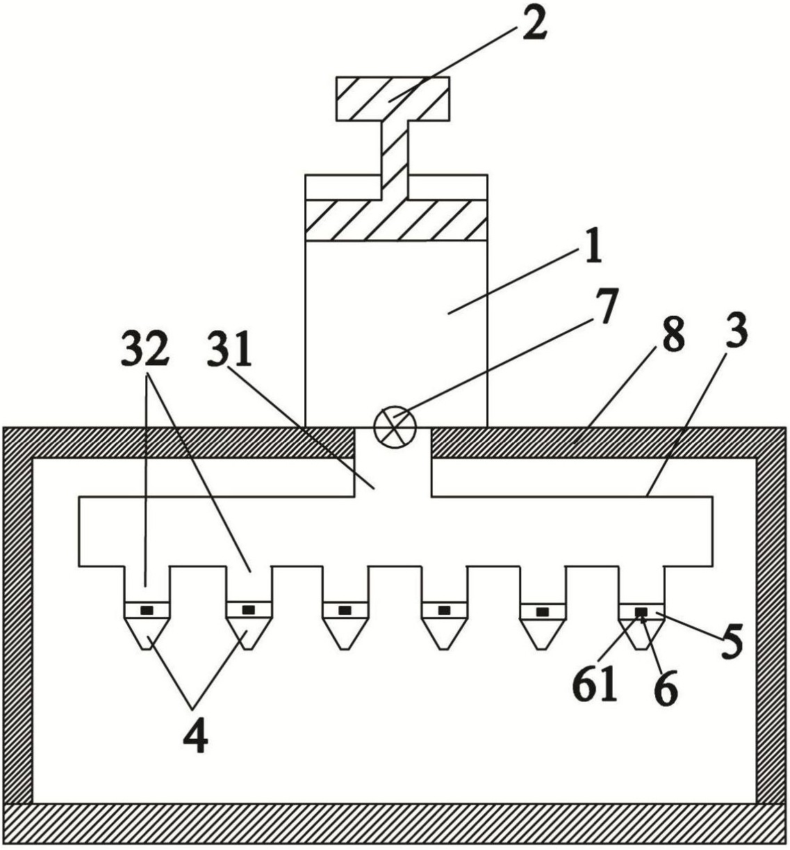
其特征在于:包括机座,气缸,料缸和灌装头,所述气缸和料缸固定在机座上
图片尺寸1720x1496
一种新型灌装头的制作方法
图片尺寸922x957
一种液体灌装头的制作方法
图片尺寸468x798
一种竹笋罐头的灌装机的制作方法
图片尺寸1000x768
一种自动灌装机
图片尺寸2027x2342
一种电子计量灌装机-爱企查
图片尺寸691x800
气雾剂灌装头及具有该气雾剂灌装头的灌装设备的制作方法
图片尺寸793x1000
尤其涉及一种锡膏灌装系统,包括锡锅,活塞,输料管和灌装头,所述活塞
图片尺寸1137x1222
饮料的灌装方法技术
图片尺寸654x1000
负压法灌装的基本原理
图片尺寸954x587
一种水泵式灌装设备-爱企查
图片尺寸1063x1635
自动灌装机原理图
图片尺寸256x303
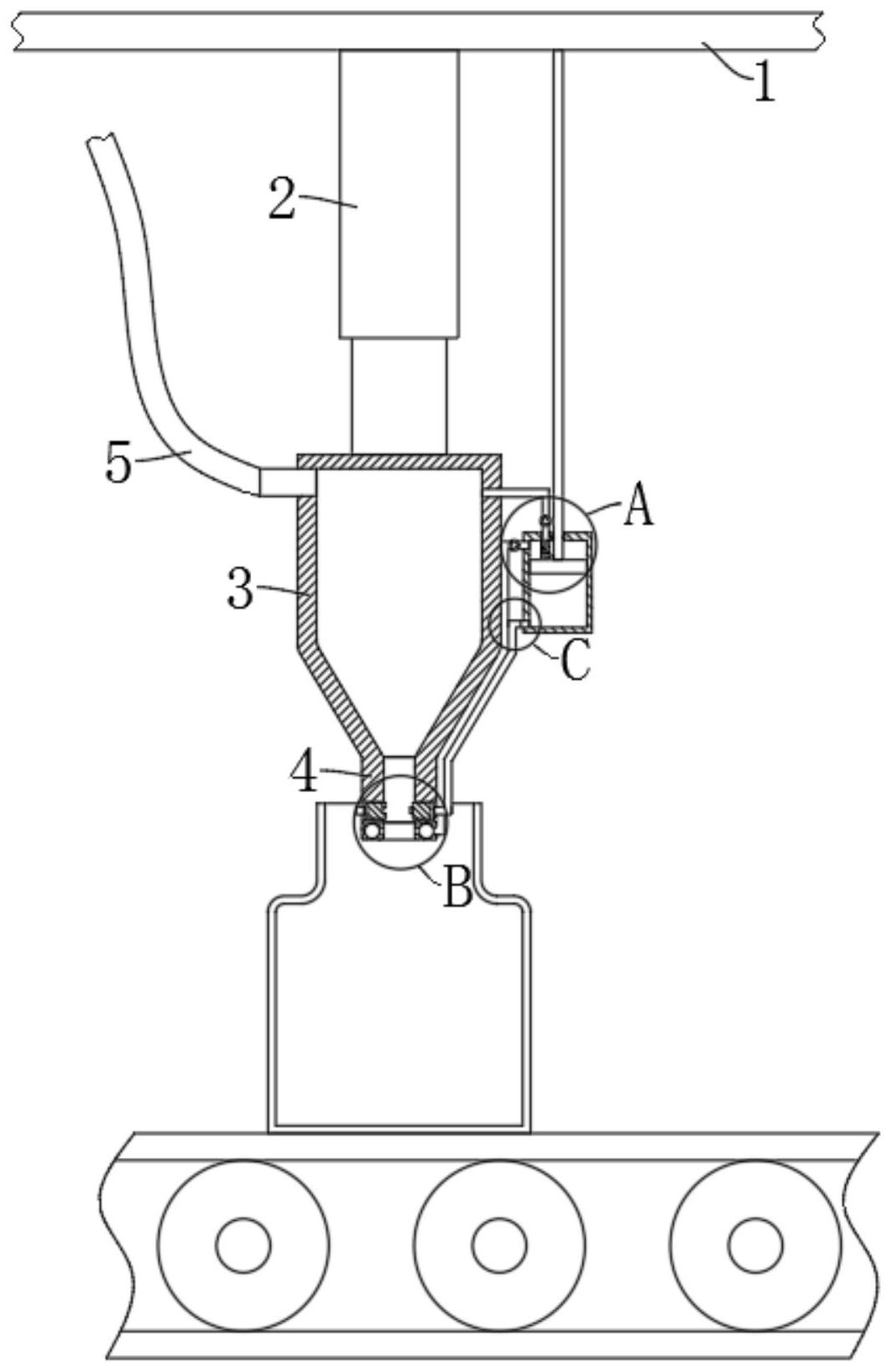
用于将灌装产品注入容器的灌装头及清理灌装头的方法
图片尺寸937x1000
防滴漏灌装头制造技术
图片尺寸916x1000
负压法灌装的基本原理
图片尺寸985x649
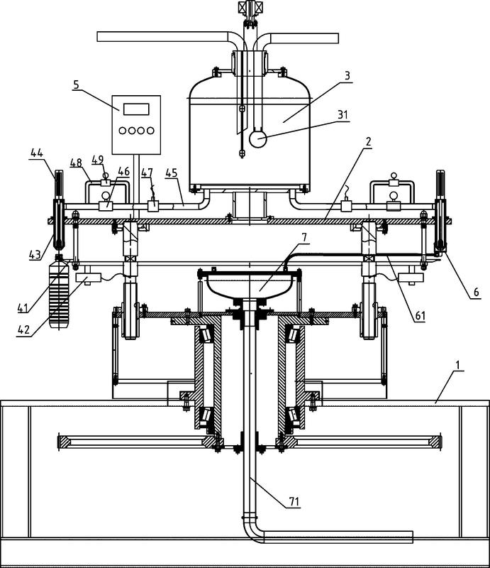
一种智能高效的酒水灌装机制造技术
图片尺寸935x1000
种可灌装液体的新型吹瓶机,其包括吹瓶机本体及安装在其上的瓶胚模头
图片尺寸1504x1742
一种可精调容量化妆品手动灌装机的制作方法
图片尺寸924x1000
cn2325311y_灌装头失效
图片尺寸536x914