灌装头结构

一种液体灌装头的制作方法
图片尺寸468x798
负压罐装头
图片尺寸484x682
防滴漏灌装头制造技术
图片尺寸916x1000
一种新型灌装头的制作方法
图片尺寸922x957
cn2325311y_灌装头失效
图片尺寸536x914
一种负压灌装机的灌装头
图片尺寸613x1000
一种高效回吸式灌装头结构的制作方法
图片尺寸949x1000
gotp防滴漏灌装头 出料嘴 出料阀 304/316 灌装头 灌装头配件 出
图片尺寸606x728
一种碳酸饮料灌装机用的灌装头制造技术
图片尺寸732x1000
液体自动化灌装设计
图片尺寸465x402
一种改进的滴灌滴头结构的制作方法
图片尺寸999x733
b线khs灌装原理
图片尺寸623x552
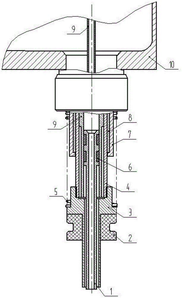
灌装头安装结构和灌装机的制作方法
图片尺寸1000x862
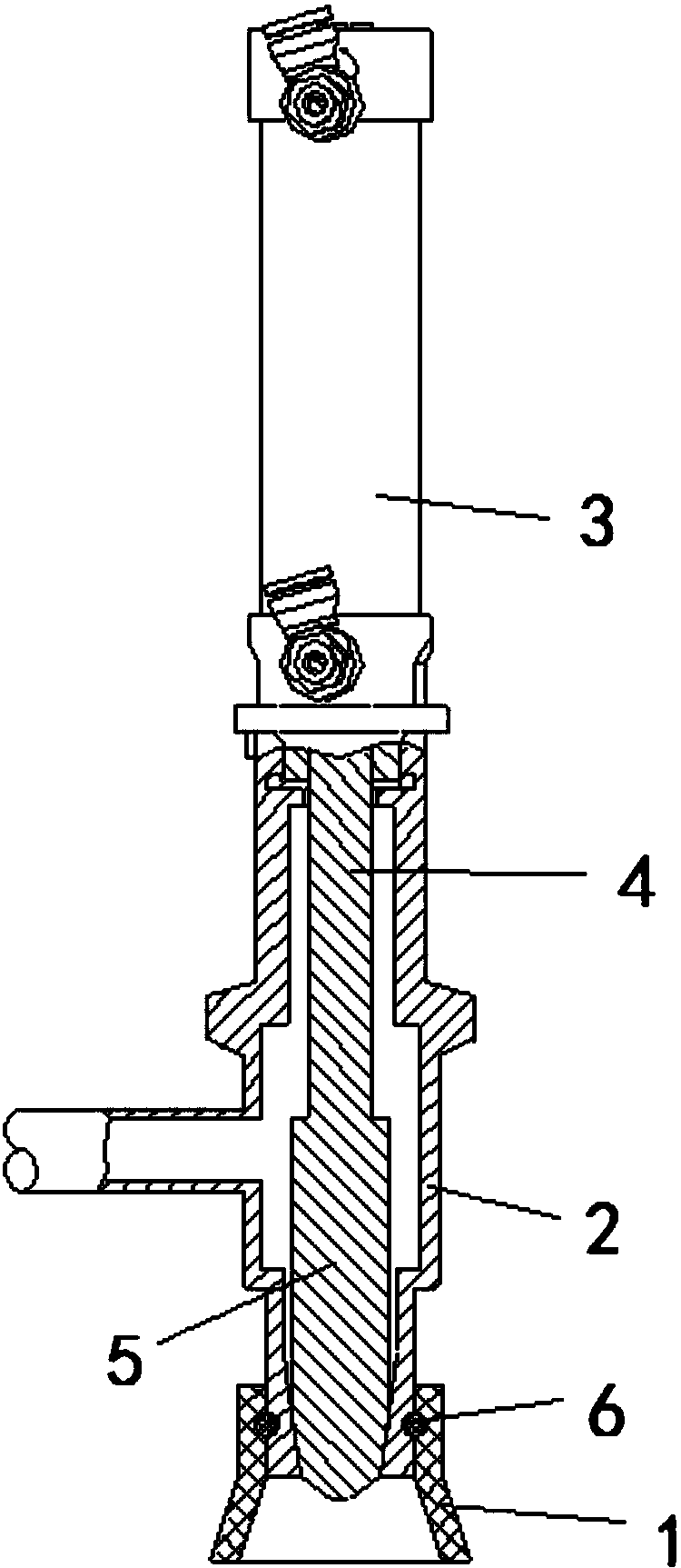
一种灌装头导向装置
图片尺寸750x1725
cn2367397y_一种新型喷头失效
图片尺寸816x940
灌装机旋盖头 拧盖头 旋盖模 饮料机械配件
图片尺寸656x462
济南半自动液体灌装机
图片尺寸630x402
cn100460310c_热灌装阀有效
图片尺寸1656x2676
防止泡沫型酱油灌装阀
图片尺寸378x563
cn101659387a_无菌灌装阀有效
图片尺寸1704x2176