火化炉 原理

宠物动物火化炉焚烧炉用于动物废物
图片尺寸1000x698
身体烤箱火化炉的火葬场火化机尸体焚烧中国制造
图片尺寸1246x696
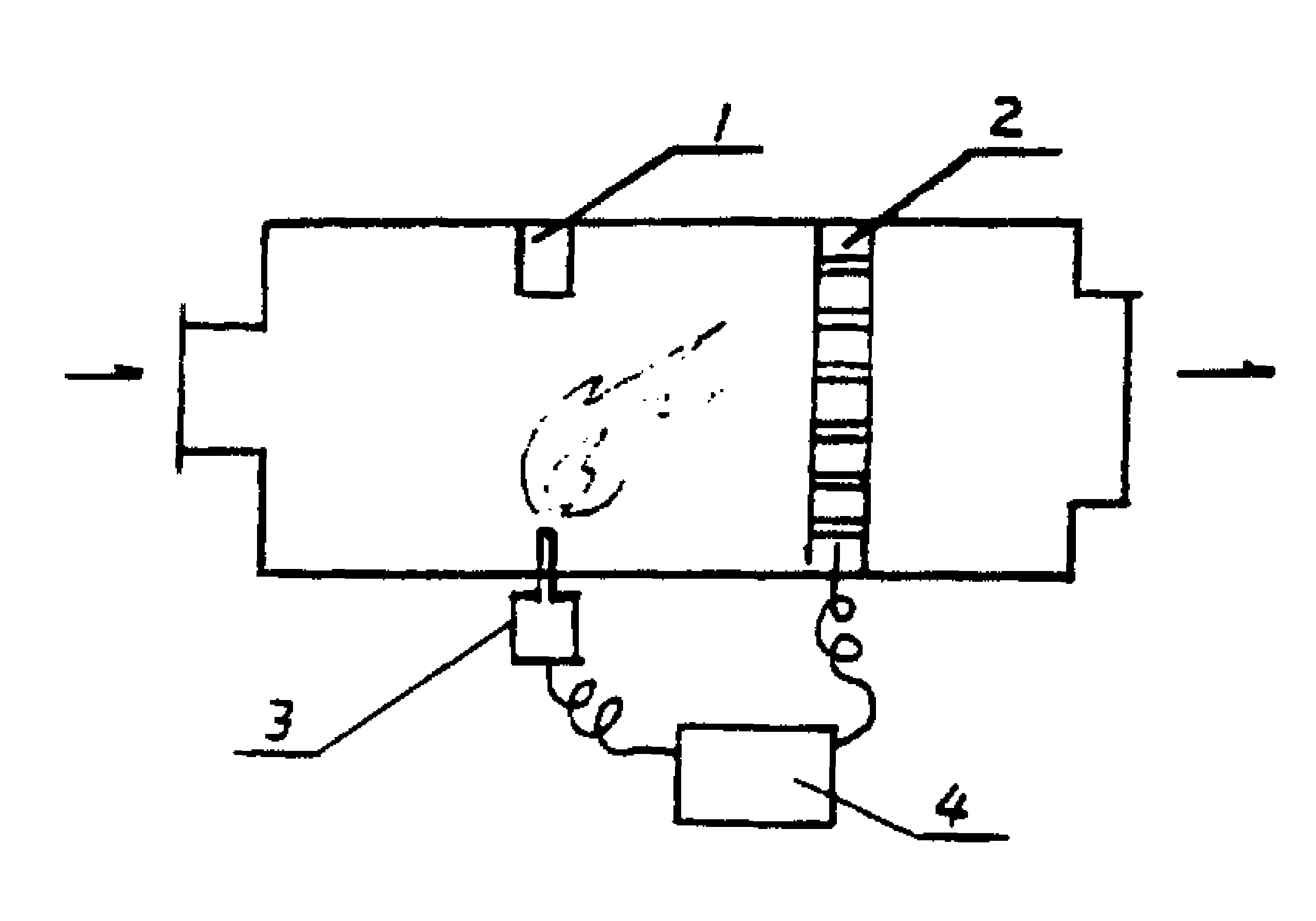
一种尸体火化炉的制作方法
图片尺寸1000x934
火化炉
图片尺寸220x117
操作原理是类似的壁炉炉时加热发生通过对流和辐射俄炉的原理,由于可
图片尺寸635x677
cn2458514y_自动控制多级燃烧火化炉失效
图片尺寸800x900
一种蓄热式智能捡灰火化炉
图片尺寸1000x490
火化炉
图片尺寸937x709
一种拣灰火化炉的制作方法
图片尺寸607x279
各种煤气化炉你都能叫出它们的名字吗?
图片尺寸400x379
一种蓄热式智能捡灰火化炉的制作方法
图片尺寸1000x493
cn204421008u_一种遗体火化炉失效
图片尺寸590x248
假死的人被推入火化炉有机会呼救求生吗火化炉能否紧急停止
图片尺寸400x244
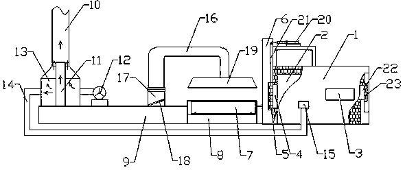
一种高效率多燃环保智能火化炉的制作方法
图片尺寸1000x760
火化炉消烟装置
图片尺寸2560x1792
一种自动连续作业的尸体火化炉系统的制作方法
图片尺寸1000x863
一种火化炉炕面急速冷却装置及冷却方法
图片尺寸394x382
一种火化炉废气处理装置的制作方法
图片尺寸867x1000
《中国社会报·殡葬周刊》:福寿园旗下"洁升"牌火化机因环保技术领先
图片尺寸750x424
电磁火化炉
图片尺寸1000x664