火炬架结构

2000年悉尼奥运会火炬
图片尺寸697x952
火炬(塔架)散装工法
图片尺寸617x402
高架火炬的结构特点,高架火炬的火炬装置包括火炬头,火炬筒体, - 抖音
图片尺寸1080x1920
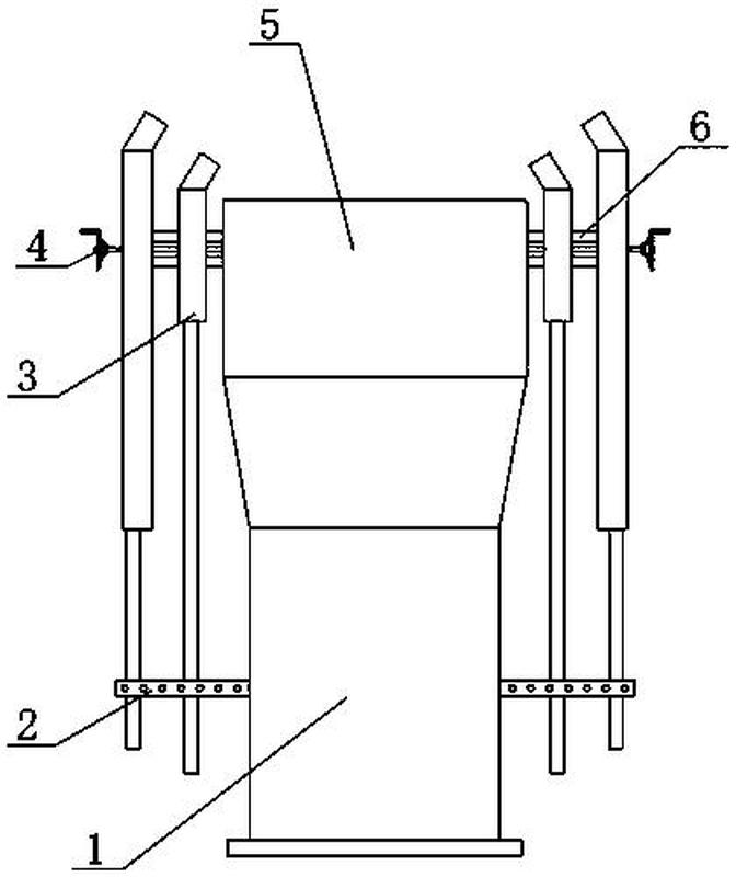
火炬内焰结构及包含其的火炬
图片尺寸1459x1909
省第十四届运动会火炬手服装,火炬等正式对外发布
图片尺寸589x414
用于燃烧两种类型的气体的高架火炬系统
图片尺寸1635x2312
地面火炬高架火炬结构,泽轩环保联系电话:1555411970 - 抖音
图片尺寸800x800
无钢架火炬(细高塔)多独立吊点整体吊装工法
图片尺寸900x591
一种具有稳定装置的火炬燃烧器-爱企查
图片尺寸672x800
一种高架火炬点火装置的制作方法
图片尺寸429x443
火炬(塔架)散装工法
图片尺寸1112x742
地面火炬防护距离的基本原则.#地面火炬 #工业火炬 #放空火 - 抖音
图片尺寸2160x2880
地面火炬高架火炬结构,泽轩环保,支持定制,免费咨询,封闭火炬 - 抖音
图片尺寸800x800
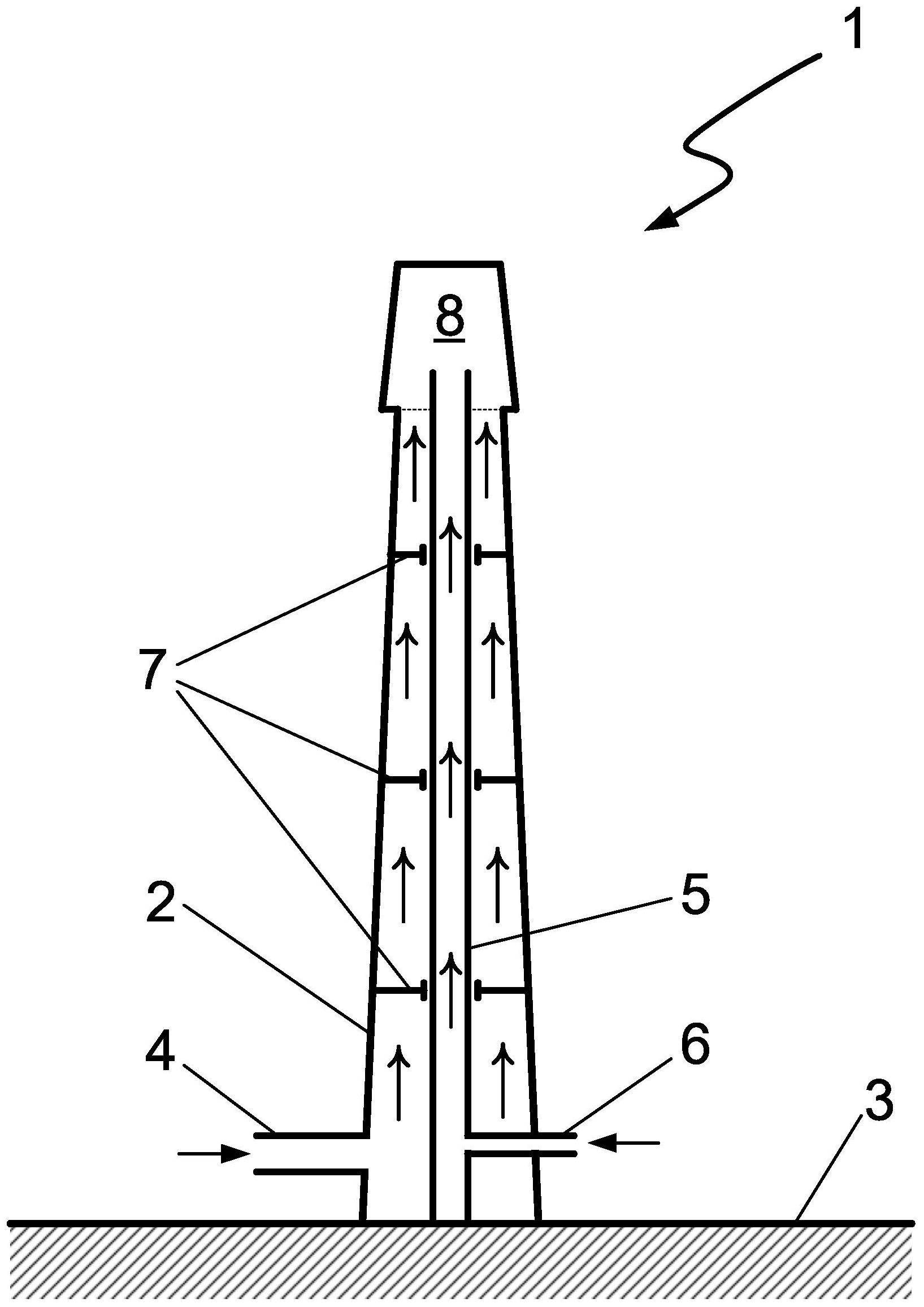
一种火炬内焰结构及包含其的火炬的制作方法
图片尺寸374x443
结构 图纸 奥运火炬加固详图
图片尺寸708x691
裕龙石化2100t钢结构火炬塔架
图片尺寸1080x608
5-200米化工厂火炬塔 高架火炬 火炬架 景铁专业生产 - 爱企查
图片尺寸750x1891
从火炬的阳台上可以看到自由女神像的一个罕见角度.
图片尺寸839x1280
高架火炬
图片尺寸640x853
火炬展示架子高透明亚克力展台加厚底座博物馆陈列架摆件台透明罩
图片尺寸800x800