火炬水封槽

火炬水封罐
图片尺寸726x336
首钢通钢炼铁2#干熄炉炉顶水封槽改造实践
图片尺寸863x369
简易耐用水封槽
图片尺寸1600x1200
焦炉水封槽安装示意图,技术改造,设计方案
图片尺寸400x275
简易耐用水封槽
图片尺寸1200x2133
简易耐用水封槽
图片尺寸1200x1600
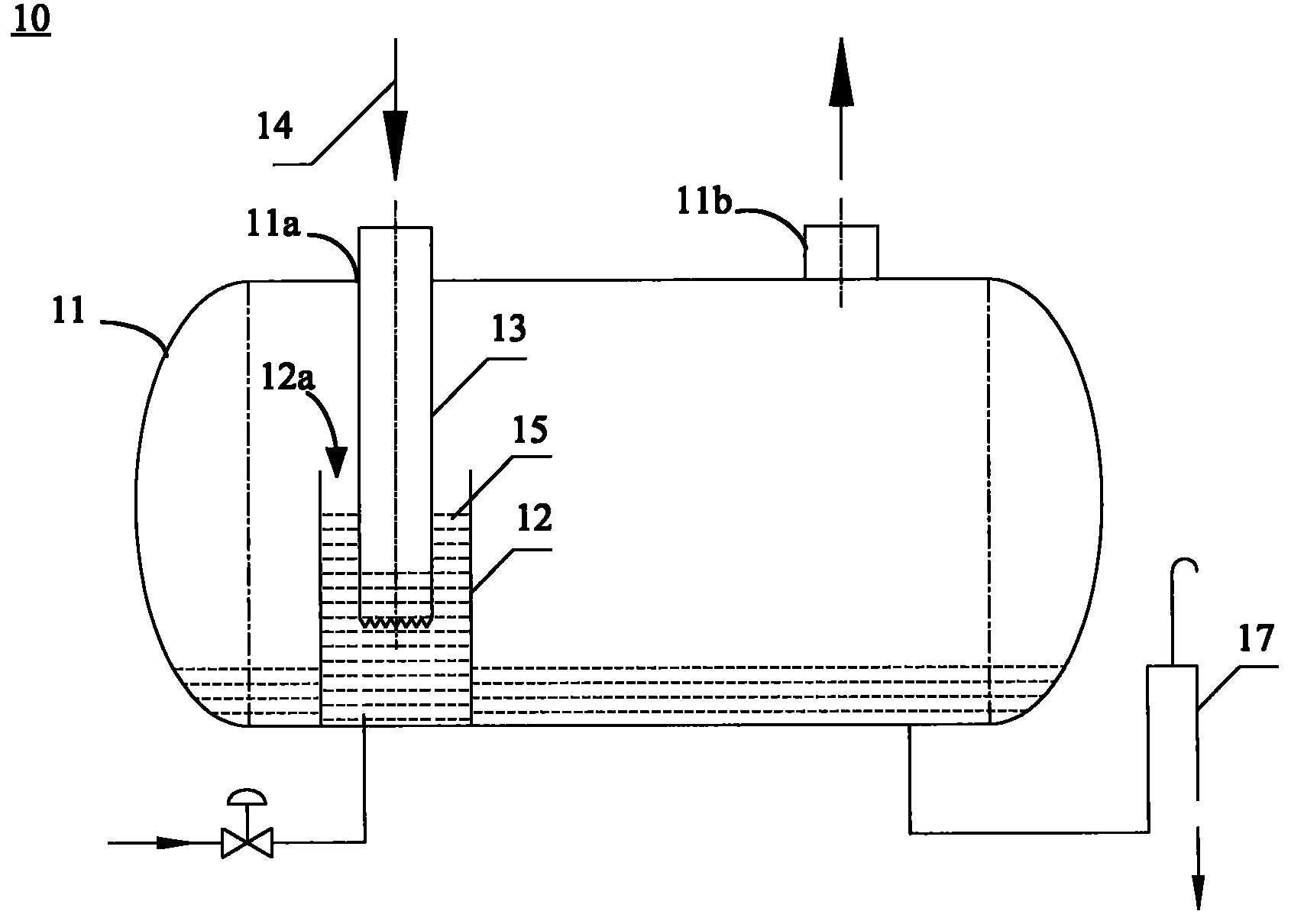
假设发生回火,火焰通过火炬气出口进入水封罐后因为入口管道在水面
图片尺寸1280x960
供应火炬排放系统及设备使用 百特
图片尺寸750x750
以解决现有水封罐存在的密封水因受火炬排放气的冲击会发生剧烈波动而
图片尺寸1778x962
cn101338897a_火炬系统用水封结构有效
图片尺寸1707x1210
火炬水封罐结构及溢流操作对火炬系统的影响
图片尺寸1275x1650
一种火炬气水封罐
图片尺寸1370x1233
中沙低压火炬水封罐发货
图片尺寸700x525
水封罐沼气过滤器 沼气火炬沼气热水器 沼气水封罐气水分离器
图片尺寸400x400
一种火炬气水封罐-爱企查
图片尺寸1929x1069
干熄炉炉顶水封槽
图片尺寸392x384
鞍山格林工队机侧炉头烟治理地面站水封槽对接
图片尺寸2667x2000
冷凝水封槽
图片尺寸1000x803
宁夏某焦化厂焦炉煤气放散火炬点火系统
图片尺寸600x800
干熄炉顶水封槽
图片尺寸700x467