火花捕集器内部结构

管道火花捕集器内部结构与工作原理_火星_碰撞_叶片
图片尺寸750x750
日军九三式火焰喷射器结构图,注意右上角转轮式点火装置的细节,由
图片尺寸900x1146
一种火花捕集装置-爱企查
图片尺寸1096x1671![某一种礼花的内部构造大概是这个样子的 [1].](https://i.ecywang.com/upload/1/img2.baidu.com/it/u=3725398718,2931269791&fm=253&fmt=auto&app=138&f=JPEG?w=623&h=500)
某一种礼花的内部构造大概是这个样子的 [1].
图片尺寸660x530
一种管道火花捕捉器
图片尺寸1052x1067
一种组合式火花捕集器的制作方法
图片尺寸1000x902
管道火花捕集器内部结构与工作原理_火星_碰撞_叶片
图片尺寸750x894
旋流插板火花捕集器的制作方法
图片尺寸442x444
图5 压水堆核电厂反应堆核电厂反应堆外壳是一个厚壁金属容器,内部
图片尺寸731x710
应用于单机袋式除尘器上的火花捕集器的主要作用是对于一些高温并且含
图片尺寸443x363
火花捕集器的制作方法
图片尺寸798x1000
火花捕集器熔炉火星捕捉器 除尘器防火防爆设备
图片尺寸750x750
温州金猊烟具有限公司
图片尺寸997x501
p>连珠火铳,中国清代火器专家戴梓制造的一种自来火枪. /p>
图片尺寸690x560
火花捕集器 锅炉管道火星捕捉器_除尘器_生物质_隔板
图片尺寸750x750
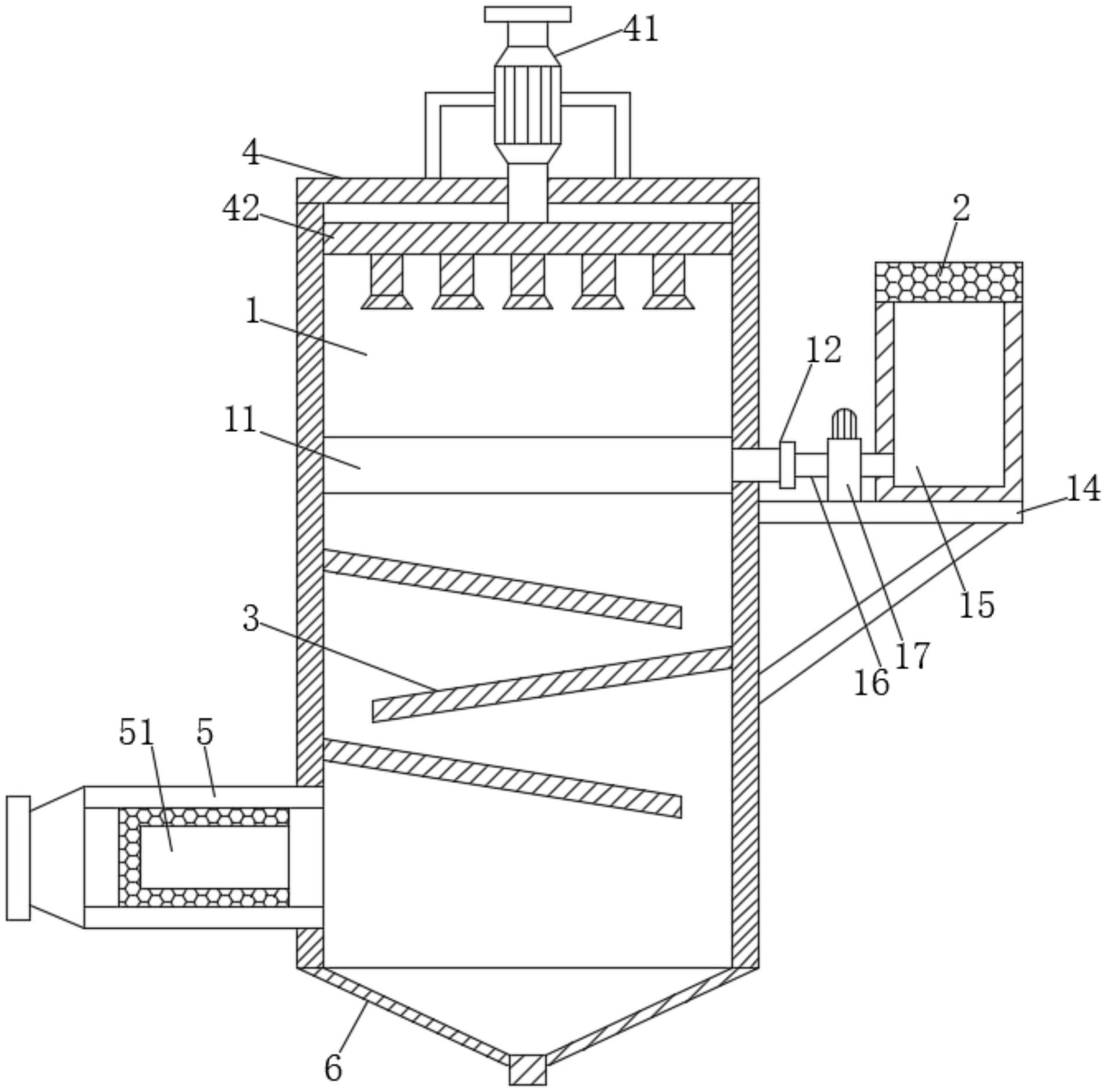
新型火花捕集式低压脉冲袋除尘器
图片尺寸1903x1878
图片信息
图片尺寸670x670
火花捕集器
图片尺寸820x582
windows 市集 中 windows 适用的 Изменениеагрегат
图片尺寸759x427
08 _ 08 图片_百度百科
图片尺寸758x410