灭菌器结构图

【已出售一台】上海博迅yxq-ls-75sii 立式压力蒸汽灭菌器 75l
图片尺寸750x545
滨江手提式压力蒸汽灭菌器yx-18ld/yx-24ld 外形结构及组成
图片尺寸593x372
上海博迅电加热手提式灭菌器
图片尺寸444x553
上海博讯yxq-g系列立式压力蒸汽灭菌器高压灭菌锅实验室灭菌锅
图片尺寸790x908
75l滨江医疗高压蒸汽灭菌器
图片尺寸418x500
用于医院的卧式高压蒸汽灭菌器的制作方法
图片尺寸1000x950
河北国润gr-uvc-1680杀菌消毒器弧菌克星物理杀菌
图片尺寸955x485
仪器百科之仪器类型简介高压灭菌器
图片尺寸554x418
cn208003129u_一种脉动真空灭菌器有效
图片尺寸1833x2311
ws-280yda 供应滨江280升卧式压力蒸汽灭菌器大型高压灭菌锅消毒锅
图片尺寸750x455
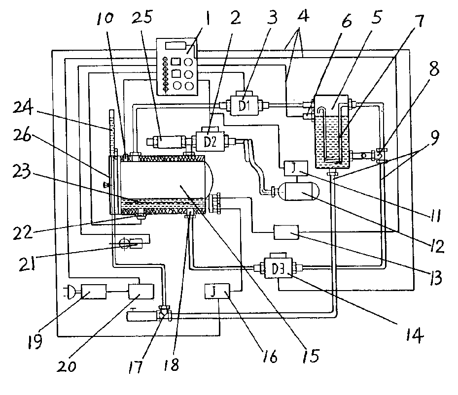
一种高压灭菌器的制作方法
图片尺寸882x1000
上海博迅yxq-sg46-280s手提式灭菌器说明书
图片尺寸379x475
真空高温灭菌器
图片尺寸929x802
医用环氧乙烷灭菌器的制作方法
图片尺寸431x444
一种卧式矩形压力蒸汽灭菌器
图片尺寸613x330
全自动高压蒸汽灭菌器 - 内胆直径Φ370 (54l/78l)
图片尺寸2400x1500
新华立式高压蒸汽灭菌器价格
图片尺寸324x389
一种卧式方形脉动真空压力蒸汽灭菌器
图片尺寸1000x854
脉动真空灭菌器的制作方法
图片尺寸860x1000
一种环保医用环氧乙烷灭菌器的制作方法
图片尺寸884x1000