灭蚊器简笔画

而且晚上睡着后,总有蚊子咬,早上起来一胳膊包.
图片尺寸1138x1280
儿童画电蚊拍
图片尺寸1080x1439
一种诱捕式灭蚊器-爱企查
图片尺寸1530x1712
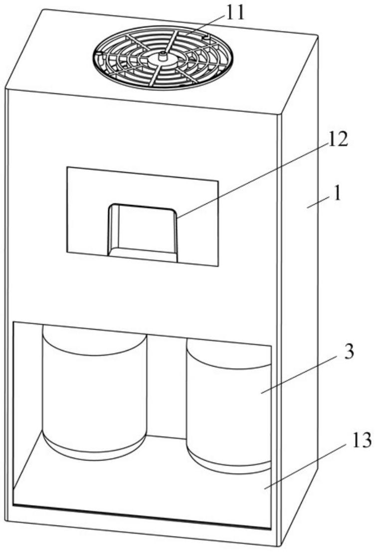
本外观设计产品的用途本外观设计产品用于实现灭蚊功能.
图片尺寸1229x2469
灭蚊器的简笔画
图片尺寸500x800
商标logo
图片尺寸1376x2518
驱蚊器-爱企查
图片尺寸1347x1727
灭蚊装置-爱企查
图片尺寸1196x1423
壁挂式灭蚊器-爱企查
图片尺寸1859x1625
cn301394916s_捕蚊灯失效
图片尺寸1028x922
野外用灭蚊灯-爱企查
图片尺寸1526x2423
灭蚊灯-爱企查
图片尺寸1805x1736
驱蚊器简笔画
图片尺寸500x713
疟疾驱蚊图片-疟疾驱蚊素材-疟疾驱蚊插画-摄图新视界
图片尺寸300x300
物理灭蚊更安全电蚊拍怎么画
图片尺寸720x480
一种灭蚊灯-爱企查
图片尺寸973x1420
灭蚊工具蚊香简笔画画法步骤
图片尺寸720x480
一种诱捕式灭蚊器-爱企查
图片尺寸754x1105
灭蚊灯-爱企查
图片尺寸541x800
一种便携式灭蚊灯-爱企查
图片尺寸596x800