灭蚊工具简笔画

物理灭蚊更安全电蚊拍怎么画
图片尺寸720x480
疟疾驱蚊图片-疟疾驱蚊素材-疟疾驱蚊插画-摄图新视界
图片尺寸300x300
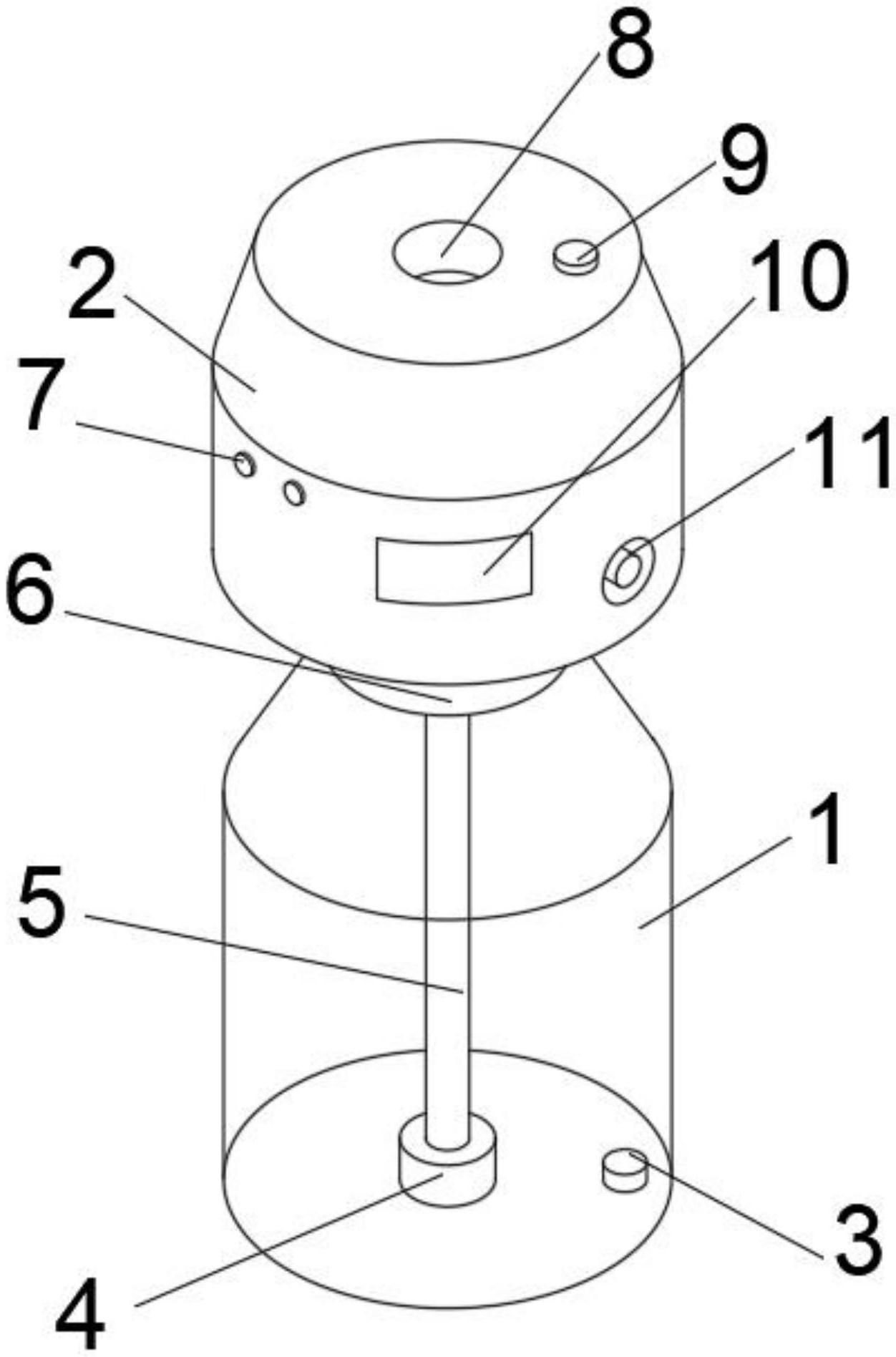
一种灭蚊灯
图片尺寸1742x2397
一种具有屏蔽功能的电蚊香
图片尺寸1581x1714
野外用灭蚊灯-爱企查
图片尺寸1526x2423
一种诱捕式灭蚊器
图片尺寸1188x1608
壁挂式灭蚊器-爱企查
图片尺寸1859x1625
灭蚊工具蚊香简笔画画法步骤
图片尺寸720x480
捕蚊器简笔画
图片尺寸500x796
灭蚊器
图片尺寸564x825
一种模仿人体皮肤的灭蚊器的制作方法
图片尺寸935x1000
一种多功能灭蚊拍的制作方法
图片尺寸289x444
灭蚊灯(zx-1c)
图片尺寸488x1139
cn305870597s_诱灭粘捕式灭蝇灭蚊器有效
图片尺寸569x897
灭蚊器
图片尺寸548x797
杀菌灭蚊器(2)
图片尺寸948x1351
灭蚊器
图片尺寸544x788
幼儿画电蚊拍的简笔画
图片尺寸400x500
一种电热驱蚊器
图片尺寸1252x1896
矢量灭蚊器
图片尺寸610x610