灯具的结构

led酒店洗墙照明别墅无主灯光筒灯会所cob射灯
图片尺寸1213x1920
如图灯罩怎么拆,要换灯泡?
图片尺寸640x421
摘要附图摘要本实用新型涉及灯具技术领域,特别指一种led防水台灯
图片尺寸500x800
2 前照灯的一般结构 江苏文光集团 灯具培训课程
图片尺寸1080x810
959595新特丽学生专用led护眼台灯焦点思维,天猫价: - 抖音
图片尺寸790x922
私模30w轨道灯私模30w导轨灯80ra80lmw5
图片尺寸620x520
吸顶灯结构图
图片尺寸645x363
如何选择儿童智能吸顶灯?100块和4000块的区别大揭秘
图片尺寸660x495
白炽灯的结构
图片尺寸1080x810
白炽灯构造
图片尺寸728x501
如何选择儿童智能吸顶灯?100块和4000块的区别大揭秘
图片尺寸660x495
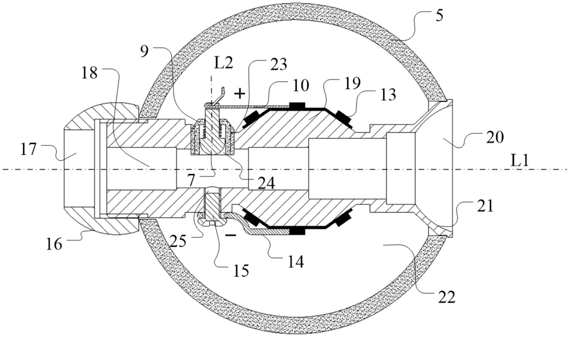
一种多功能户外使用的灯具的制作方法
图片尺寸1000x750
【淘宝畅销第一】触摸调光led护眼台灯 学生儿童学习工作灯具
图片尺寸600x836
功率:10w-10w以上光源类型:led光源颜色:白色灯具材质:亚克力家装风格
图片尺寸749x482
一种灯体结构以及组合灯具-爱企查
图片尺寸1950x1154
9种灯具的"三大系统"构成
图片尺寸580x319
白炽灯的主要部件有哪些?
图片尺寸591x633
灯具结构
图片尺寸757x1000
cn201916729u_一种调焦灯具有效
图片尺寸1991x1971
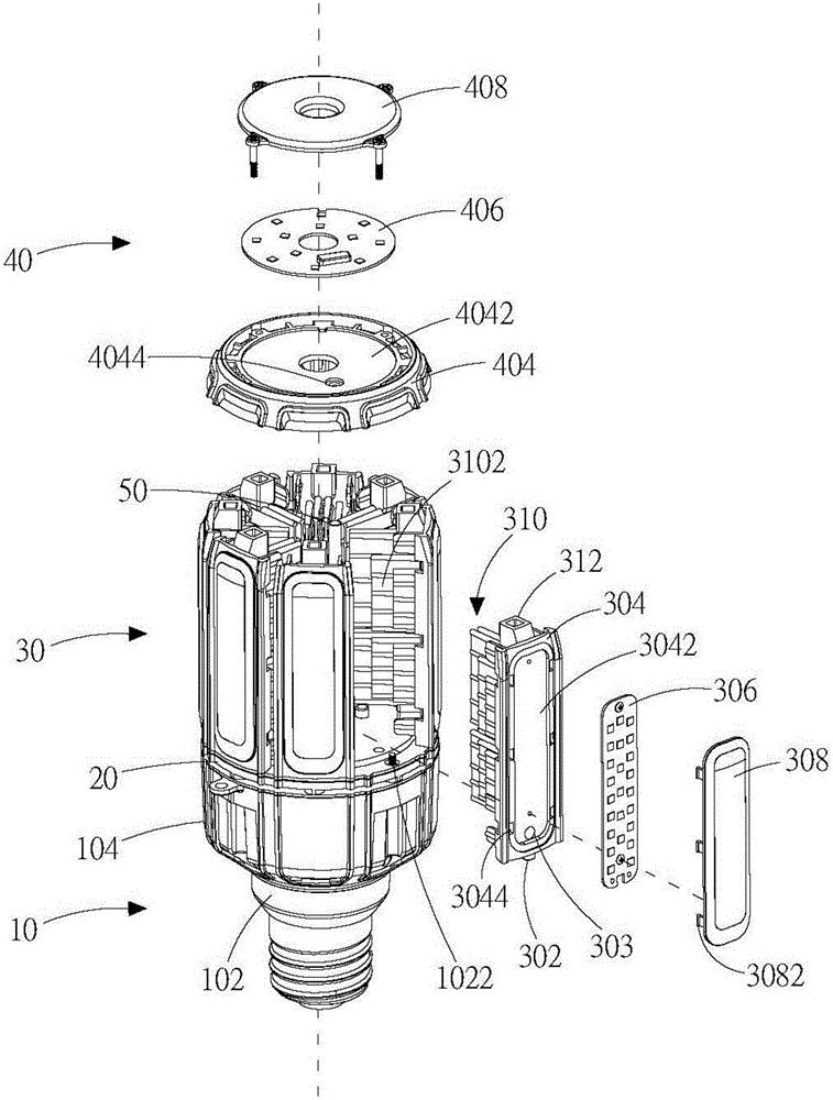
图一:灯具爆炸图
图片尺寸425x315