灯头人简笔画

机器人系列简笔画来啦 美术/创意美术/简笔画/儿童画/几何图案机器人
图片尺寸960x1280
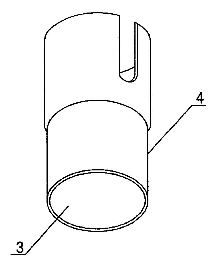
一种led投影灯泡及其灯串的制作方法
图片尺寸824x1000
一种led灯头散热结构-爱企查
图片尺寸238x243
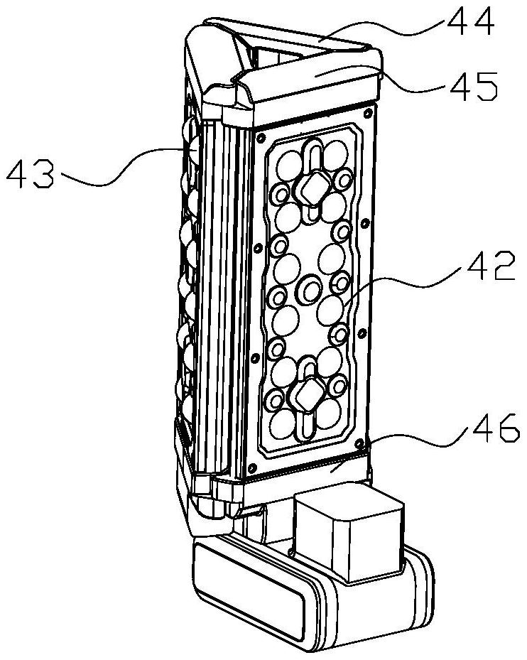
一种快速拆装的led灯头组件-爱企查
图片尺寸1714x1439
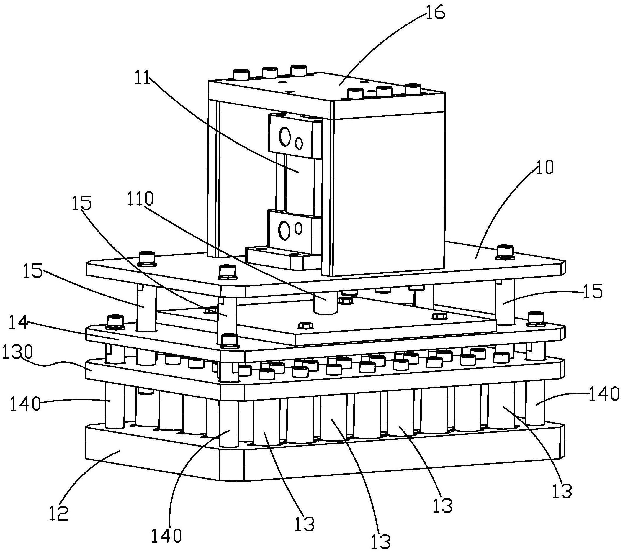
x一种可同时夹持多个灯头的夹具-爱企查
图片尺寸2111x1875
凹形灯头吸顶灯-爱企查
图片尺寸260x198
一种带弧形卡装通道的节能灯灯头结构-爱企查
图片尺寸260x260
一种区域灯灯头-爱企查
图片尺寸742x929
t泡灯(带线灯头)-爱企查
图片尺寸983x1546
节能灯灯头(螺旋八边形)-爱企查
图片尺寸2004x2434
一种高性能汽车led灯头-爱企查
图片尺寸551x800
节能灯灯头(球形)-爱企查
图片尺寸1555x1832
led支架灯灯头(fw6126)-爱企查
图片尺寸1262x1253
一种灯头-爱企查
图片尺寸682x800
台灯灯头模组(5)-爱企查
图片尺寸704x1039
一种发光角度可调节的灯头-爱企查
图片尺寸717x800
覆衬绝缘塑胶膜的金属外壳灯头-爱企查
图片尺寸750x935
灯头可翻转的台灯-爱企查
图片尺寸1716x1391
本外观设计产品的用途汽车led灯头.
图片尺寸1026x1654
射灯(mr16灯头gu5.3)-爱企查
图片尺寸1225x1250