炉膛构造

一体式带水冷炉膛的燃黄磷尾气锅炉
图片尺寸1679x1756
高炉结构剖面图ppt
图片尺寸1080x810
高炉剖面图
图片尺寸1275x915
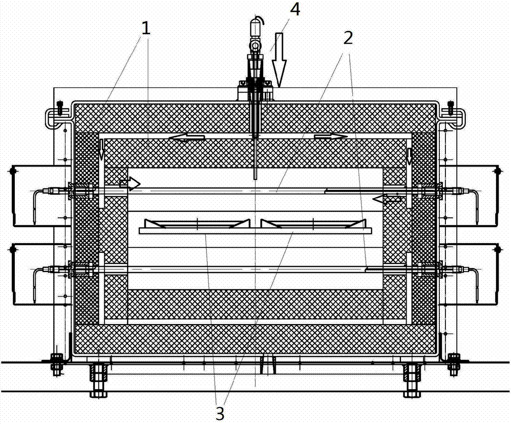
cn101210737a_一种余热锅炉的炉膛结构失效
图片尺寸1204x1510
焦炉
图片尺寸1168x670
高炉生产工艺流程示意图ppt
图片尺寸1080x810
dzh2125手烧生物质蒸汽锅炉2吨蒸汽锅炉加工定制
图片尺寸820x842
提高铝及铝合金熔体温度均匀性的等温熔炼炉炉膛结构
图片尺寸1936x1336
一种小型循环流化床锅炉绝热炉膛结构
图片尺寸1406x2119
常用锅炉图解
图片尺寸1080x638
一种应用于晶硅光伏电池生产的链式烧结炉炉膛结构
图片尺寸1000x828
炉膛下部区域的炉墙结构
图片尺寸428x434
常用的锅炉结构(三)
图片尺寸500x576
小型工业锅炉的炉膛
图片尺寸1912x2056
提高铝及铝合金熔体温度均匀性的等温熔炼炉炉膛结构
图片尺寸1936x1336
焦炉的结构组成及耐火材料的应用
图片尺寸498x574
燃生物质锅炉的炉膛制造技术
图片尺寸1000x923
中频电炉炉体结构图
图片尺寸786x649
焦炉烘炉
图片尺寸1176x671
一种炉膛内设有炉胆水包的小型锅炉-爱企查
图片尺寸1419x1940