点火线圈结构

佐佐木点火线圈高压包单支装适用于99车型本田丰田日产别克雪佛兰奔驰
图片尺寸790x935
万通汽修标准化课程体系(2010版) (3)点火线圈结构
图片尺寸1080x810
汽车点火线圈工作原理和分类
图片尺寸508x399
猎火主机配套点火线圈市场现状趋势
图片尺寸420x259
23万公里卡罗拉更换点火线圈
图片尺寸620x1125
展开全部 你好 是通过点火线圈 将低电压转换为高电压的 线圈
图片尺寸327x425
三菱点火线圈厂家直销9607405480
图片尺寸800x730
点火线圈结构组成及作用,点火线圈的结构
图片尺寸546x482
柴油发电机蓄电池点火系统的点火线圈介绍
图片尺寸1412x904
点火线圈的作用 点火线围是将蓄电地或 发电机输出的低压电转 变为
图片尺寸1080x810
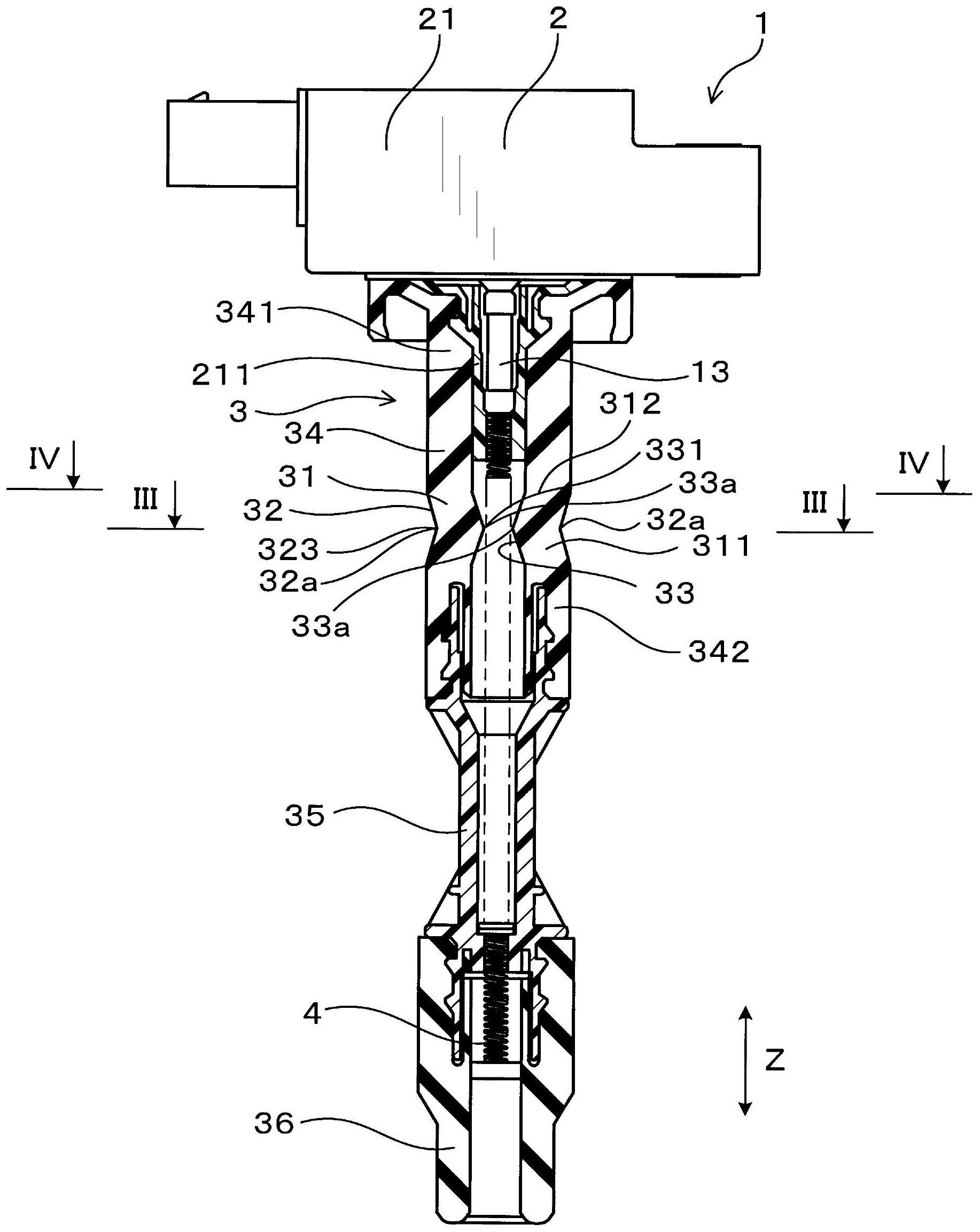
用于内燃发动机的点火线圈
图片尺寸1834x2303
开磁路点火线圈结构与磁路图
图片尺寸1080x810
点火线圈(汽车 | 石油)
图片尺寸700x841
点火线圈的制作方法
图片尺寸700x1000
三头六臂点火线圈|为什么你的点火线圈老是坏,原因给你总结好了!
图片尺寸601x386
点火线圈工作原理是什么?点火线圈工作原理
图片尺寸500x384
点火线圈结构与环氧树脂的匹配性
图片尺寸719x519
汽车电工新手入门教程(下)
图片尺寸1692x1140
cn107533902a_内燃机用点火线圈在审
图片尺寸985x1000
结构严密型笔式点火线圈
图片尺寸625x873