点胶机构

三轴点胶机构
图片尺寸530x432
机械设计精品课:气动点胶机构的设计
图片尺寸5446x3404
pur自动热熔胶点胶机固态热熔胶涂胶机点胶平台四轴可旋转点胶机
图片尺寸1920x1764
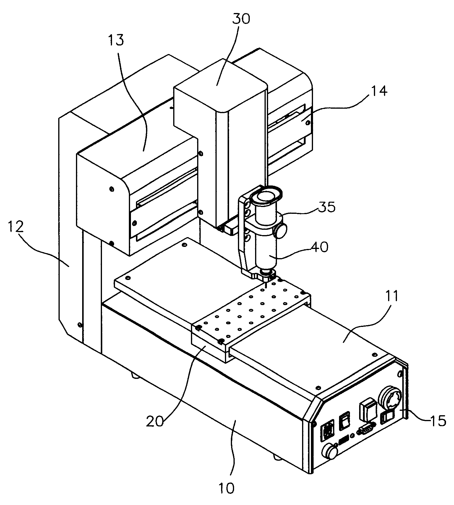
带精确微调装置的精密点胶机构
图片尺寸673x734
点胶机热熔胶点头
图片尺寸524x636
圆形点胶机
图片尺寸800x496
六轴机器人点胶机示意图
图片尺寸653x724
点胶机构
图片尺寸512x622
自动点胶机结构
图片尺寸1536x1710
点胶模组机构等轴视图模组点胶机构,用一个伸缩气缸来实现x轴方向的
图片尺寸588x733
一站式在线五轴点胶机
图片尺寸800x1000
点胶机构
图片尺寸422x598
新能源fpc自动化点胶线
图片尺寸1425x756
间距调节点胶机构
图片尺寸530x541
移动点胶机构
图片尺寸530x348
带精确微调装置的精密点胶机构
图片尺寸637x548
全自动点胶机10升ab5331台式打胶机龙门耐用其他电子工具
图片尺寸800x800
多轴自动点胶机图
图片尺寸663x695
简易点胶机
图片尺寸719x789
此套摆臂机构是旋转0°-90°的旋转点胶机构,由两个伺服电机带动摆臂
图片尺寸694x686