点胶机结构

pur自动热熔胶点胶机固态热熔胶涂胶机点胶平台四轴可旋转点胶机
图片尺寸1920x1764
cn201143480y_三维自动点胶机失效
图片尺寸1712x1656
高速点胶机使用制程中常见缺陷问题与解决方案汇总
图片尺寸682x557
厂家供应30ccpur热熔胶点胶机广告机边框手机壳蓝牙耳机点胶机
图片尺寸1749x1920
自动点胶机
图片尺寸1589x1638
ab胶点胶机全自动点胶机双组份点胶机深圳厂家定制
图片尺寸910x885
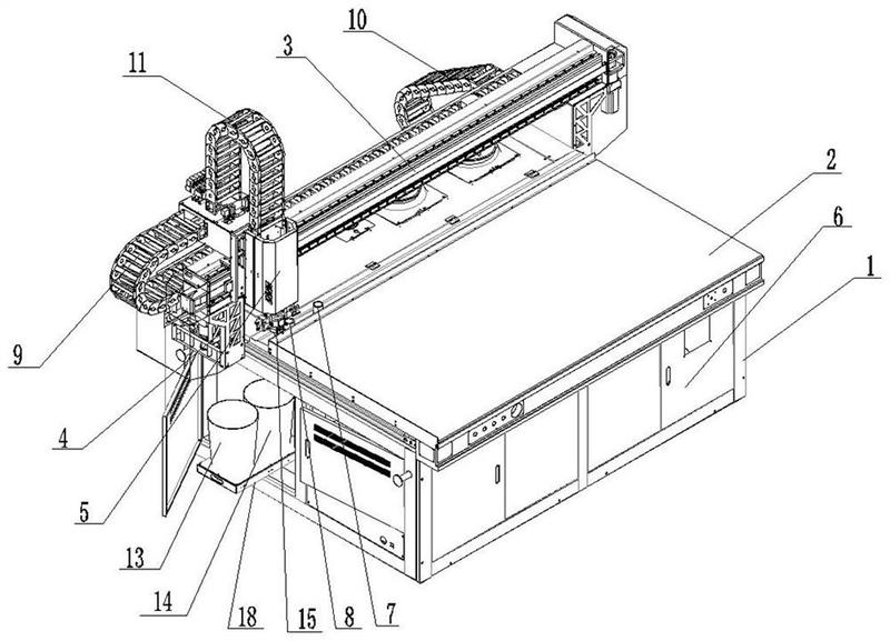
整个设备的主要结构有下支撑座,上保护盖,进出料模组,轨道,点胶机
图片尺寸665x528
一种具有自动送料功能的点胶机
图片尺寸1194x1177
厂家供应30ccpur热熔胶点胶机广告机边框手机壳蓝牙耳机点胶机
图片尺寸800x800
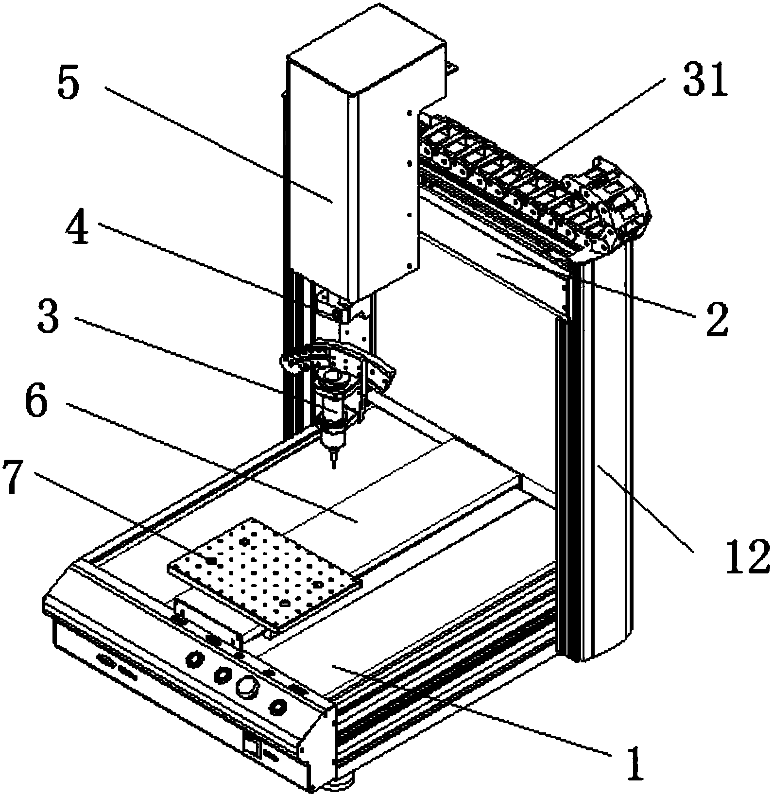
自动点胶机结构
图片尺寸1536x1710
一种台式点缠胶带机的制作方法
图片尺寸347x444
一种具有自动送料功能的点胶机的制作方法
图片尺寸1000x986
自动点胶机
图片尺寸1359x1490
视觉点胶机水晶胶视觉自动点胶机自动定位识别视觉点胶机
图片尺寸584x493
一种大剂量硅胶点胶机制造技术
图片尺寸1000x869
cn207680903u_一种全自动在线式多头点胶机有效
图片尺寸1299x1049
一种单向阀点胶机的制作方法
图片尺寸992x1000
一种一体式数控点胶机结构-爱企查
图片尺寸800x577
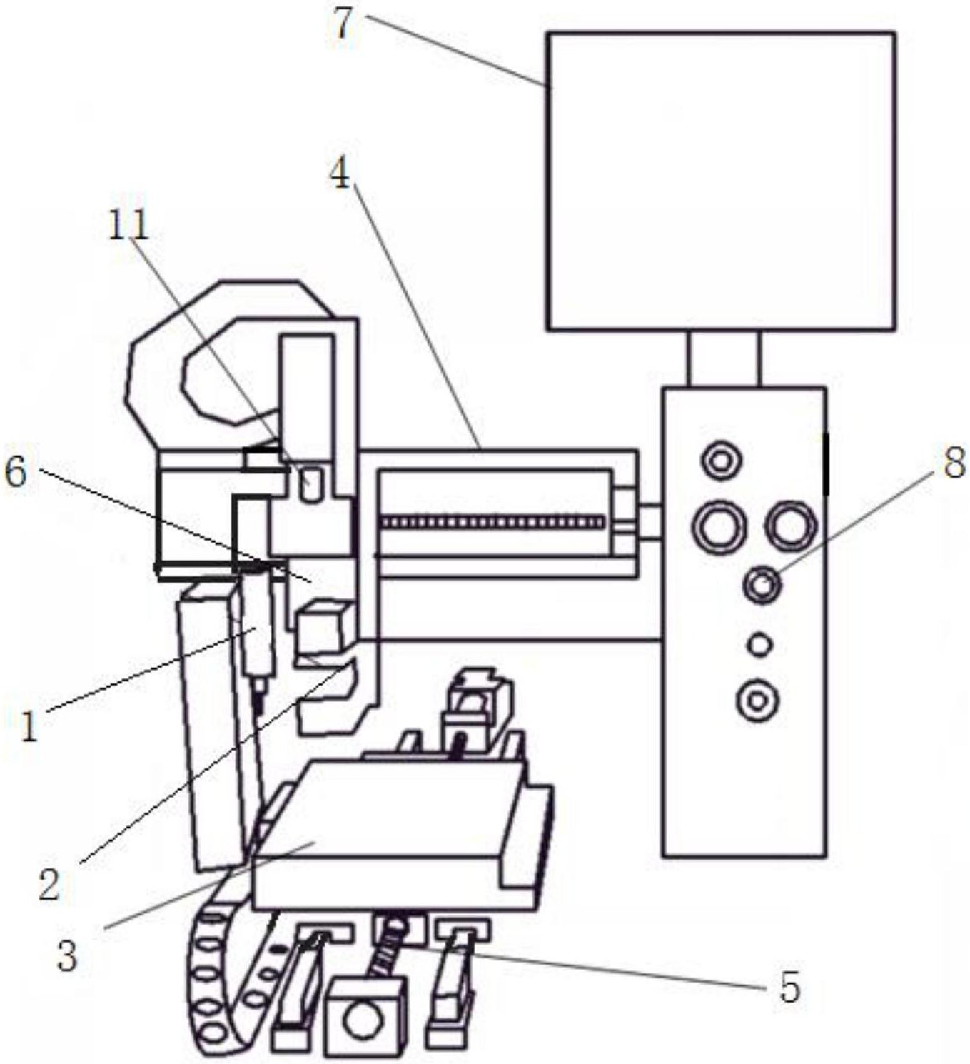
深圳厂家为您讲解自动点胶机的结构以及组成
图片尺寸640x640
一种双组份精密点胶机的制作方法
图片尺寸712x1000